Запросить
коммерческое предложение
коммерческое предложение
Нужна консультация?
Закажите обратный звонок
Мы свяжемся с Вами в ближайшее время
Мы свяжемся с Вами в ближайшее время
Остались вопросы?
Свяжитесь с нами удобным способом
Назначение
Характеристики
Описание
Комплектация
Назначение машины профилегибочной ИБ3230
Профилегибочная машина (или сортогибочная машина) модели ИБ3230 предназначена для гибки заготовок сортового и фасонного проката в холодном состоянии из материалов с пределом текучести бт =250 МПа (25кгс/мм2).
Универсальная, надежная конструкция машины позволят при проведении гибочных операций получать изделия хорошего качества. Профилегибочная машина для профиля ИБ3230 применяется в производственных цехах, например для изготовления мостовых и шахтных металлоконструкций, а так же на многих предприятиях современной промышленности, как в единичном, так и серийном производстве.
Таким образом, это специализированное оборудование широко применяется в различных отраслях промышленности. Основное назначение профилегибочной машины заключается в изгибе и формировании различных профильных материалов, таких как металлические трубы, проволока и алюминиевые профили.
Завод ПромСтройМаш является непосредственным производителем профилегибочной трёхроликовой машины ИБ3230МП и поставляет ее в различные регионы Российской Федерации и ближнего зарубежья.
Базовое климатическое исполнение УХЛ категория размещения 4 по ГОСТ 15150.
Технические характеристики ИБ3230МП
| УГОЛОК ПОЛКОЙ НАРУЖУ: | |
| Сечение наибольшее, мм | 100х100х16 |
| Диаметр гибки наименьший, мм | 420 |
| Сечение наименьшее, мм | 40х40х4 |
| Диаметр гибки наменьший, мм | 960 |
| УГОЛОК ПОЛКОЙ ВНУТРЬ: | |
| Сечение наибольшее, мм | 100х100х10 |
| ШВЕЛЛЕР ПОЛКОЙ НАРУЖУ: | |
| Номер швеллера | 18 |
| Радиус гибки наименьший, мм | 420 |
| ШВЕЛЛЕР ПОЛКОЙ ВНУТРЬ: | |
| Номер швеллера | 18 |
| Радиус гибки наименьший, мм | 560 |
| ПОЛОСОВОЙ ПРОФИЛЬ НА РЕБРО: | |
| Сечение наибольшее, мм | 100x25 |
| Радиус гибки наименьший, мм | 380 |
| ПОЛОСОВОЙ ПРОФИЛЬ ПЛАШМЯ: | |
| Сечение наибольшее, мм | 200х36 |
| Радиус гибки наименьший, мм | 380 |
| Скорость гибки, м/мин, нерегулируемая, не менее | 7,1 |
| Скорость перемещения штока гидроцилиндра опорных роликов вверх, мм/мин | 764 |
| Скорость перемещения штока гидроцилиндра опорных роликов вниз, мм/мин | 1019 |
| Скорость перемещения боковых гибочных роликов в горизонтальной плоскости, мм/мин | : |
| - под нагрузкой вперед | 489 |
| - без нагрузки вперед | 1336 |
| - без нагрузки назад | 1791 |
| Мощность привода, кВт | 11 |
| Масса (без средств механизации) | 5400 |
| Габариты (ДхШхВ), мм | 2000х2200х1600 |
| Технические изменения, существенно не влияющие на характеристики машины, завод-изготовитель оставляет за собой | !!! |
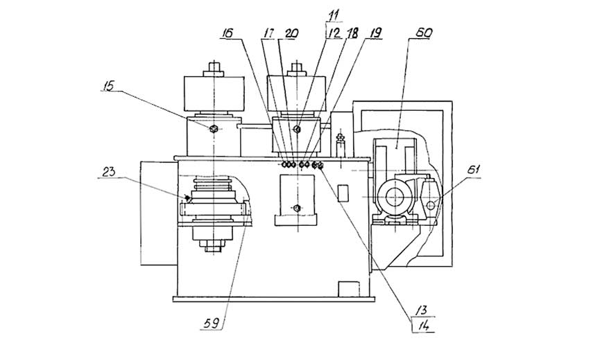
УСТРОЙСТВО МАШИНЫ ПРОФИЛЕГИБОЧНОЙ ИБ3230
Общий вид машины с обозначением составных частей:

Вид сбоку и спереди с обозначением составных частей

Вид сверху с обозначением составных частей
Перечень составных частей машины:
|
Поз. |
Наименование |
|
1 |
Станина |
|
2 |
Привод |
|
3 |
Вал средний |
|
4 |
Валы боковые |
|
5 |
Ролики опорные |
|
6 |
Гидроцилиндр |
|
7 |
Гидроустановка |
|
8 |
Инструмент для гибки углового профиля |
|
9 |
Инструмент для гибки швеллера и полосового проката * |
|
10 |
Ограждение |
|
11 |
Система смазки |
|
12 |
Электродвигатель |
|
13 |
Электрошкаф |
|
14 |
Пульт управления |
* - Опция
ПРИВОД ИБ3230
Состоит из электродвигателя, муфты предохранительной фрикционной, червячного редуктора, конических шестерён, установленных на валах. На валу установлены шестерни, а валы установлены на подшипниках качения в станине.
Разъёмные прокладки предназначены для регулировки конического зацепления и обеспечения без зазорных соединений в сопряжениях наружных обойм и конических роликоподшипников.
На станине установлен электрогидравлический тормоз для мгновенной остановки электродвигателя привода вращения.
Устройство предохранительной муфты ясно из рисунка ниже.
ВАЛ СРЕДНИЙ
Состоит из вала, установленного на подшипниках качения в станине. На валу установлены полумуфта, зубчатое колесо.
Разъёмная прокладка предназначена для обеспечения без зазорного соединения в сопряжении наружного кольца конического роликоподшипника. При необходимости подключения к приводу вращения среднего вала, полумуфта вводится в зацепление с зубчатым венцом колеса механизмом включения муфты, состоящим из гайки, штока, вилки. При переключении второй полумуфты, вращение гайки производить до упора (при перемещении штока вверх, торец штока в крайнем верхнем положении упирается в торец гайки, при перемещении штока вниз, нижний торец второй полумуфты упирается в верхний торец колеса). Ход штока 5-25 мм.
ВАЛЫ БОКОВЫЕ
Состоят из валов, установленных на подшипниках качения в корпусах, соединенных общими осями и валом. Оси жестко установлены в верхней части станины. Вал установлен в пустотелом валу и зафиксирован посредством шпильки и распорной втулки. Корпуса сопрягаются с осями и валом через подшипники скольжения. К последним подводится централизованная смазка. Регулировка осевого люфта в подшипниках в пределах 0,1 – 0,2 мм осуществляется подшлифовкой разъёмного кольца, которое затем фиксируется втулкой.
В нижней части корпусов на подшипниках качения установлены валы на консольных концах валов установлены зубчатые колеса, входящие в зацепление с шестерней. Верхние части валов являются зубчатыми полумуфтами, входящими в зацепление с полумуфтами, установленными на консольных концах валов.
Отключение валов от привода вращения производится вращением гаек, перемещающих штоки, вилки и полумуфту вверх. При переключении полумуфт вращение гаек производить до упора (при перемещении штока вверх, торец штока в крайнем верхнем положении упирается в торец гайки, при перемещении штока вниз нижний торец полумуфты упирается в верхний торец вала).
Ход штока 21 – 25мм.
Разъёмные прокладки предназначены для обеспечения без зазорного соединения наружных колец конических роликоподшипников.
Кольцо предназначено для пригонки торцевых поверхностей под инструмент по отношению к торцевой поверхности среднего вала.
РОЛИКИ ОПОРНЫЕ
Узел смонтирован на верхней стенке станины с обеих сторон боковых валов. Включает в себя опорный ролик, установленный в кронштейне на подшипниках качения. К кронштейну прикреплена гильза, установленная на подшипниках скольжения в станине. Гильза тягой соединена со штоком гидроцилиндра. Гидроцилиндр неподвижно установлен в станине, предназначен для перемещения опорного ролика в вертикальной плоскости.
На кронштейне закреплены направляющие, в которых перемещается ползушка в которой укреплен правильный ролик. Перемещение ползушки в горизонтальной плоскости осуществляется передачей винт – гайка. Гайка установлена в ползушке. Винт приводится во вращение гидромотором. На оси установлен поворотный кронштейн, который взаимодействуя с цилиндрическим штоком, укрепленном в кронштейне поворачивает опорные ролики в горизонтальной плоскости. Поворот кронштейна осуществляется тягой гидроцилиндра перемещения бокового вала.
Схема кинематическая ИБ3230

Перечень элементов схемы кинематической:
|
Поз. |
Наименование |
Кол. |
Примечание |
|
1 |
Электродвигатель АИР160 S 6У3 |
1 |
N=11кВт, n=940мин-1 |
|
2 |
Муфта |
2 |
|
|
3 |
Редуктор РЧУ 160-31,5-56-1 – У2 |
1 |
|
|
4 |
Шестерня |
1 |
Z=18, m=8 |
|
5 |
Шестерня |
1 |
Z=45, m=8 |
|
6 |
Шестерня |
1 |
Z=26, m=10 |
|
7 |
Шестерня |
1 |
Z=26, m=10 |
|
8 |
Шестерня |
1 |
Z=20, m=10 |
|
9 |
Шестерня |
1 |
Z=40, m=10 |
|
10 |
Муфта |
1 |
|
|
11 |
Шестерня |
1 |
Z=23, m=10 |
|
12 |
Шестерня |
1 |
Z=51, m=10 |
|
13 |
Ролик опорный |
2 |
|
|
14 |
Муфта |
2 |
|
|
15 |
Ролик правильный |
2 |
D = 80мм |
|
16 |
Сектор |
2 |
Z=102, m=2 |
|
17 |
Шестерня |
2 |
Z=17, m=2 |
|
18 |
Датчик |
2 |
|
|
19 |
Тормоз ТКГ 200 |
1 |
Электродвигатель N=0,12кВт |
|
20 |
Гидромотор Г15-23Н |
2 |
|
|
21 |
Винт |
2 |
|
|
22 |
Ролик гибочный |
3 |
D=380мм |
|
23 |
Гидроцилиндр |
2 |
D=125мм, S=320мм |
|
24 |
Гидроцилиндр |
2 |
D=100мм, S=63мм |
|
I - Х |
Валы |
9 |
Описание схемы кинематической:
Вращение гибочным роликам передается по следующим цепям:
От электродвигателя 1 через муфту 2, червячный редуктор 3 , коническую передачу 4,5, вал II, зубчатые колёса 11, 12, муфту 14 вращение передаётся на валы V, VII боковых гибочных роликов.
На средний вал IХ вращение передается через зубчатые колеса 6, 7, 8, 9, муфту 10.
Средний вал IХ установлен в станине на подшипниках качения.
Боковые валы V, VII установлены на подшипниках качения в корпусах, установленных шарнирно на осях II, III.
Корпуса перемещаются относительно среднего вала гидроцилиндрами 23.
Мгновенная остановка привода вращения осуществляется электрогидравлическим тормозом 19.
На станине установлены опорные 13 и правильные 15 ролики. Перемещение опорных роликов относительно станины по вертикали осуществляется гидроцилиндрами 24. Перемещение правильных роликов в горизонтальной плоскости осуществляется гидромоторами 20 через передачу винт-гайка.
Правильные ролики, совместно с опорными, проворачиваются в горизонтальной плоскости на угол 34° с помощью рычажной системы, шарнирно связанной с тягами, установленными на штоках гидроцилиндров 23.
Гидравлическая система ИБ3230
Устройство и работа гидроустановки
Гидравлика включает в себя бак, маслоуказатель, заливную горловину, воздушный фильтр, магнитный патрон, насосную установку, сливные пробки, фильтр грубой и тонкой очистки, гидропанели.
Принцип работы гидросистемы

Двухпоточным насосом Н1, через фильтры Ф1и Ф2, гидрораспределитель Р1, масло подается к гидроцилиндрам Ц1-Ц4, гидромоторам М1, М2 через гидрораспределители Р2-Р10, гидрозамки ЗМ1…ЗМ4.
Суммарный поток рабочей жидкости подается в систему при холостых перемещениях штоков гидроцилиндров. При повышении давления в системе более 5 … 5,5 МПа (50…55кГс/см2) насос большей производительности клапаном КД1 автоматически переключается на разгрузку в бак, обратный клапан КО1 запирается, скорость перемещения штоков гидроцилиндров понижается.
Разгрузка насосов производится через гидрораспределитель Р1, при выключенном электромагните YV1. Гидрозамки ЗМ1 – ЗМ4 предназначены для запирания полостей гидроцилиндров Ц1-Ц4 соответственно.
Гидросхемой предусматривается режим совместного перемещения боковых и правильных роликов вверх при изготовлении изделий из углового профиля. При совместном срабатывании электромагнитов УV1, УV3, масло подается через гидрораспределитель Р1, Р4 в поршневую полость Ц2, из штоковой полости Ц2 через Р2 к гидромотору М2 далее через Р10 на слив. При остановке М2 на упоре масло идет на слив через предохранительный клапан КП2.
При режиме индивидуальной работы боковыми роликами без перемещения правильных роликов.
При перемещении «вверх» бокового ролика (левого по схеме) срабатывают электромагниты УV1, УV3, УV6. Масло через гидрораспределители Р1, Р4 поступает в поршневую полость гидроцилиндра Ц2. Из штоковой полости Ц2 через Р2, Р4 масло сливается.
Описанные выше режимы работы устанавливаются переключателем на пульте управления.
Предохранение системы от перегрузок осуществляется клапаном КП1. Клапаны КП2, КП3 предназначены для исключения поломки гидромоторов М1, М2 при режиме совместной работы с гидроцилиндрами Ц3, Ц4.
Перечень элементов схемы гидравлической
|
Обозначение |
Наименование |
Кол-во |
Примечание |
|
Б |
Бак |
1 |
V=50 r |
|
3М1..3М4 |
Гидрозамок односторонний Т-4 КУ20/320 |
4 |
P=320 кгс/см2 Q=320 л/мин |
|
КО1 |
Гидроклапан обратный 10-1 |
1 |
|
|
КД |
Гидроклапан давления ПБГ 54-32М |
1 |
P=63 кгс/см2 Q=20 л/мин |
|
КП1..КП3 |
Гидроклапан предохранительный КПМ6/3-83 |
3 |
P=320 кгс/см2 |
|
М1, М2 |
Гидромотор 4О1Г15-23А |
2 |
P=63 кгс/см2 |
|
МН1 |
Манометр МТ1-60-250 |
1 |
P=200 кгс/см2 ∅=60 мм |
|
НП |
Насос пластинчатый 6БГ12-41 |
1 |
P=200 кгс/см2 Q1=6 л/мин Q2=10 л/мин |
|
Р1..Р3 |
Гидрораспределитель ВЕ6.573.31.В |
3 |
P=320 кгс/см2 Q=25 л/мин |
|
Р4..Р8 |
Гидрораспределитель ВЕ6.44.31.В |
||
|
Р9, Р10 |
Гидрораспределитель ВЕ6.74.31.8 |
||
|
Р31 |
Золотник включения манометра 3М2.2.С-320 |
1 |
|
|
Ф1 |
Фильтр 1ФГМ32-25М(К) |
1 |
P=200 кгс/см2 Q=25 л/мин |
|
Ф2 |
Фильтр 1ФГМ32-40М(К) |
1 |
|
|
Ц1, Ц2 |
Гидроцилиндр 1-125×320 |
2 |
D=100мм d=40мм H=63мм |
|
Ц3, Ц4 |
Гидроцилиндр 1-100×63 |
2 |
D=63мм d=32мм H=100мм |
|
1..50 |
Линии связи |
СМАЗОЧНАЯ СИСТЕМА ИБ3230
Смазка машины осуществляется шприцем через масленки, ручной закладкой, заливкой в корпус редуктора и резервуар тормоза, смазыванием вручную лопаткой.


|
№ на. рис. |
Наименование точек смазывания |
Смазочный материал |
Периодичность |
Куда входит |
||
|
1…4 |
Подшипники опор гидроцилиндров |
Пресс-солидол С ГОСТ4356-76 |
Раз в смену |
Ролики опорные |
||
|
7…10 |
Направляющие опорных роликов |
|||||
|
11…14 |
Подшипники валов боковых |
Валы боковые |
||||
|
15…16 |
Подшипники вала среднего |
Раз в шесть месяцев |
Вал средний |
|||
|
17…20 |
Подшипники валов привода |
Привод |
||||
|
20…21 |
Подшипники рычагов опорных роликов |
Ролики опорные |
||||
|
23 |
Подшипники шестерни вала среднего |
Вал средний |
||||
|
38, 39 |
Подшипники правильных роликов |
Раз в шесть месяцев |
Ролики опорные |
|||
|
40…43 |
Подшипники опорных роликов |
|||||
|
44…47 |
Подшипники опорных винтов |
|||||
|
48 |
Подшипники вала привода |
Привод |
||||
|
55,56 |
Винт |
По мере необходимости |
Опорные ролики |
|||
|
57, 58 |
Направляющие |
|||||
|
59 |
Зубчатая передача |
Привод |
||||
|
60 |
Редуктор |
ИГП-182 ТУ38101413-78 |
Первая замена через150 часов работы, в дальнейшем через500-1000 часов работы |
|||
|
61 |
Тормоз |
Трансформаторное |
Раз в шесть месяцев |
Указания по эксплуатации системы смазки
Долговечность и работоспособность машины во многом зависит от смазки.
Во время работы машины необходимо следить за температурой масла в редукторе, которая не должна превышать 70°С (при температуре окружающей среды 10-15°С).
Точки смазывания, масленки протирают и чистят только материалом, не оставляющим волокон. Применение ветоши и концов не допускается.
Подшипники качения заполнить только на 1/3 их объёма, т.к., в противном случае, получается высокий нагрев, потеря энергии и преждевременный выход подшипников из строя.
ЭЛЕКТРООБОРУДОВАНИЕ

Схема электрическая принципиальная
.jpg)

|
Поз. |
Наименование |
Кол-во |
|
QF1 QF2-QF6 |
Автоматический выключатель ВА8832-40А Автоматический выключатель ВА47-29 |
1 5 |
|
НL1, НL2 |
Лампа диодная сигнальная 24V |
2 |
|
КМ1-КМ2 КМ3 КМ4…КМ18 |
Пускатель магнитный ПМЛ-2100-24 Пускатель магнитный ПМЛ-1100-24 Реле промежуточное 24V DC |
2 1 15 |
|
КК1 КК2 |
Реле тепловое РТИ 1316 Реле тепловое РТИ 2355 |
1 1 |
|
М1 М2 М3 |
Электродвигатель АИР160S6 Электродвигатель АИР90 L4 У3 Электродвигатель тормоза ТКГ-200 |
1 1 1 |
|
SA1 SA2 SA3 |
Переключатель с ключом Переключатель на 2 положения Тумблер на два положения без фиксации |
1 1 1 |
|
SB1-SB16 |
Кнопка КМ5611 |
16 |
|
TV |
Трансформатор ОСМ1-0.16 220/24V |
1 |
|
YV1..YV17 |
Электромагнит |
17 |
Описание работы схемы электрической
Перед началом работы необходимо убедиться, что все защитные автоматы включены.
При включении вводного автоматического выключателя QF1 на пульте управления загорается сигнальная лампочка НL1, сигнализирующая о том, что «напряжение подано». Поворотом переключателя SА1 схема машины подготовлена к работе. При нажатии кнопки SВ2 включается магнитный пускатель КМ3 и становится на самопитание. Замыкающими контактами включается электродвигатель гидронасоса М2. Остановка электродвигателя гидронасоса осуществляется нажатием кнопки SВ3, при этом разрывается цепь питания катушки пускателя КМ3, пускатель теряет питание и выключает электродвигатель гидронасоса М2. При повторном запуске электродвигателя М2, кнопку SВ2 нажать еще раз.
Управление гидроцилиндром левого бокового ролика при движении «вверх» осуществляется в толчковом режиме нажатием кнопки SВ5, при положении SА4, «отключено». При этом срабатывает магнитный пускатель КМ5, который своими замыкающими контактами включает К4 и электромагниты УV1, УV3,УV6. При отпускании кнопки SВ5 электромагниты УV1, УV3,УV6 выключаются.
Таким же образом осуществляется включение гидроцилиндра левого ролика при движении « вниз » кнопкой SВ6. При этом срабатывает магнитный пускатель КМ6, который своими замыкающими контактами включает К4 и электромагниты УV1, УV2,УV6. При опускании кнопки электромагниты УV1,УV2,УV6 выключаются.
Управление гидроцилиндром правого ролика при движении « вверх» осуществляется аналогично. При этом нажимается кнопка SВ7, через магнитные пускатели КМ7 и К4 включаются электромагниты УV1, УV10,УV13. При отпускании кнопки электромагниты выключаются.
Так же осуществляется управление гидроцилиндром гибочного правого ролика при движении « вниз». При этом нажимается кнопка SВ8 и через магнитные пускатели КМ8 и К4 включаются электромагниты УV1, УV9, УV13 . При отпускании кнопки электромагниты выключаются.
Управление гидроцилиндрами опорных роликов « по вертикали» и « по горизонтали» осуществляется кнопками в толчковом режиме. При нажатии на кнопку SВ9 через магнитные пускатели КМ9 и К4 включаются электромагниты УV1, УV4. Левый опорный ролик « по вертикали» движется вверх.
При движении левого опорного ролика «вниз» необходимо нажать кнопку SВ10. Через магнитные пускатели КМ10 и К4 включаются электромагниты УV1 и УV5. При опускании кнопки электромагниты выключаются.
Таким же образом работает правый опорный ролик. При нажатии на кнопку SВ11 через магнитные пускатели КМ11 и К4 включаются электромагниты УV1 и УV11. Правый опорный ролик движется «вверх».
При нажатии на кнопку SВ12 через магнитные пускатели КМ12 и К4 срабатывают электромагниты УV1 и УV12. Правый опорный ролик движется «вниз».
Перемещение правильных роликов осуществляется гидромоторами при управлении электромагнитами. При нажатии на кнопку SВ 13 через магнитные пускатели КМ13 и К4 срабатывают электромагниты УV1, УV6, УV8 и левый правильный ролик движется вперед. Когда нажимается кнопка SВ14 через магнитные пускатели КМ14 и К4 включаются электромагниты УV1, УV6, УV7. Левый правильный ролик возвращается в исходное положение.
По выше описанному способу работает правый правильный ролик.
Схемой предусмотрен режим совместного перемещения боковых и правильных роликов вверх. Для этого переключатель SА4 поставить в положение «включено». Нажатием кнопки SВ5 через магнитные пускатели КМ5и К4 включаются электромагниты УV1 и УV3. Левый боковой ролик совместно с левым правильным роликом движутся вверх. При нажатии кнопки SВ7 включаются магнитные пускатели КМ7 и К4 и своими контактами включают электромагниты УV1, УV10. Правый боковой ролик совместно с правым правильным роликом движутся вверх.
Управление главным приводом осуществляется при помощи переключателя с самовозвратом SА3. Одновременно с электродвигателем главного привода М1 включается электродвигатель тормоза М3.
Органы управления профилегибочной машины ИБ3230
Расположение оргнов управления:

Пульт управления:

Назначение органов управления:
|
Поз. |
Органы управления и их назначение |
|
1 |
Вводной автомат |
|
2 |
Кнопка « Аварийный стоп» |
|
3 |
Кнопка включения электродвигателя привода насоса |
|
4 |
Кнопка отключения электродвигателя привода насоса |
|
5 |
Переключатель управления привода вращения гибочных роликов |
|
6 7 |
Кнопка управления левого гибочного ролика |
|
8 9 |
Кнопка управления правого гибочного ролика |
|
10 11 |
Кнопка управления гидроцилиндром левого опорного ролика |
|
12 13 |
Кнопка управления гидроцилиндром правого опорного ролика |
|
14 15 |
Кнопка управления гидромотором левого правильного ролика По горизонтали ( вперед, назад) |
|
16 17 |
Кнопка управления гидромотором правого правильного ролика по горизонтали ( вперед, назад) |
|
18 |
Лампа «Сеть», контроль подключения электросистемы машины к сети |
|
19 |
Лампа сигнализирует о включении электродвигателя привода насоса |
|
20 |
Ключ цепей управления |
|
21 |
Переключатель совместного включения боковых и правильных роликов при движении «вперед» |
|
22 |
Ключ «Включение схемы» |
профилегиб ИБ 3230, ИБ3230МП машина сортогибочная ив3230 производитель
Стандартная комплектация ИБ3230МП
- Машина профилегибочная трёхроликовая ИБ3230МП в сборе
- Входит в комплект и стоимость машины:
- Электрошкаф
- Пульт управления - Комплект документации:
- паспорт,
- руководство по эксплуатации,
- деклорация соответствия
Дополнительные опции ИБ3230МП
- Инструмент для гибки швеллера и полосового профиля
ПромСтройМаш является непосредственным производителем ИБ3230МП Мы производим и продаём Машина профилегибочная трёхроликовая ИБ3230МП во все регионы РФ и страны ближнего зарубежья, такие как Беларусь, Казахстан. ИБ3230МП нашего производства хорошо зарекомендовали себя в Москве, Ярославле, Нижнем Новгороде, Екатеринбурге, Новосибирске и других городах России. Купить ИБ3230МП вы можете непосредственно у нас или у наших дилеров. Угол 100х100х16
Швеллер №18
Полоса 100х12
Швеллер №18
Полоса 100х12
