Запросить
коммерческое предложение
коммерческое предложение
Нужна консультация?
Закажите обратный звонок
Мы свяжемся с Вами в ближайшее время
Мы свяжемся с Вами в ближайшее время
Остались вопросы?
Свяжитесь с нами удобным способом
Назначение
Характеристики
Описание
Комплектация
Назначение гидравлического четырехколонного пресса ДА1438
- Четырехстоечный гидравлический пресс предназначен для обработки деталей давлением, подходит для автомобильной промышленности, производства бытовой техники и деталей для легкой промышленности.
- Станина четырехколонного гидравлического пресса представляет из себя конструкцию из трех траверс, жестко соединенных между собой четырьмя колоннами.
- На штоке гидравлического цилиндра закреплена подвижная траверса (ползун) с восемью направляющими втулками, которая движется по четырем колоннам как по направляющим. Гидравлическая станция размещена сбоку машины.
- В данном прессе предусмотрена регулировка хода, гидравлическая система оснащена встроенным блоком двухпозиционных клапанов. В электрической системе предусмотрено управление с помощью реле или ПЛК.
- Пресс имеет возможность работы в ручном и полуавтоматическом режиме.
Основные особенности
- Система управления прессов выполнена на базе программно-логистического контроллера (ПЛК). В совокупности с гидроагрегатом, выполненном на базе современной высокопроизводительной аппаратуры, обеспечивает высокие эксплуатационные характеристики и надежность оборудования.
- Клапан наполнения встроен в гидравлический агрегат, что обеспечивает надежность, долговечность с меньшим влиянием гидравлического удара.
- Оборудование имеет отдельно стоящий шкаф управления.
- Пресс оснащен переносным пультом управления с кнопкой аварийной остановки и возможностью выбора режима работы.
- Система управления позволяет регулировать ход ползуна, усилие прессования и временя выдержки под давлением с панели оператора.
- Рабочее усилие, холостой ход, рабочий ход могут регулироваться под требования конкретного технологического процесса.
- Четырехколонная конструкция пресса обеспечивает равномерную нагрузку, давление, создаваемое гидравлическим прессом стабильно. Все это гарантирует высокую точность операций при работе пресса.
Базовое климатическое исполнение УХЛ категория размещения 4 по ГОСТ 15150.
Технические характеристики ДА1438
| Номинальное усилие пресса, кН | 6300 |
| Номинальное усилие выталкивателя, кН | 1000 |
| Ход ползуна, мм | 900 |
| Ход выталкивателя, мм | 350 |
| Открытая высота, мм | 1500 |
| Габариты стола, мм: | |
| - Слева направо | 1600 |
| - Спереди назад | 1600 |
| Скорость хода ползуна, мм/с: | |
| - Холостой ход | 80 |
| - Рабочий ход | 8-10 |
| - Обратный ход | 60 |
| Мощность привода, кВт | 44 |
| * Точные габариты и вес пресса будут определены после проработки технического задания |
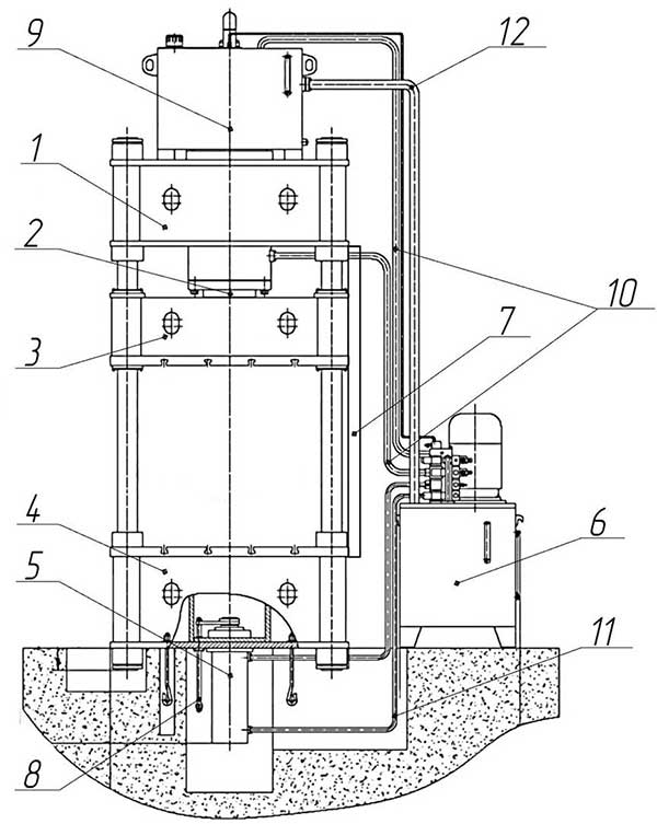
УСТРОЙСТВО И РАБОТА ЧЕТЫРЕХКОЛОННОГО ГИДРАВЛИЧЕСКОГО ПРЕССА ДА1438

1- верхняя балка, 2 - главный цилиндр, 3- ползун, 4 - нижняя поперечина,
5 - выталкиватель, 6 - гидроагрегат, 7 - механизм концевых выключателей ползуна,
8 - механизм концевых выключателей выталкивателя, 9 - бак наполнения,
10 - трубопровод главного цилиндра, 11 - трубопровод главного цилиндра, 12 - маслоотводящая трубка.
Пресс ДА1438 состоит из основного электродвигателя, механизма гидравлического привода, электрической системы управления металлоконструкций. Пресс образует идеальное целое из гидроагрегата, трубопроводов и электрики. Конструкция и функции каждой части описаны следующим образом:
Станина гидравлического пресса ДА1438
Станина состоит из верхней балки (1), ползуна (3), нижней поперечины (4), колонн (13), регулировочных гаек, контргаек. Колонны образуют замкнутую конструкцию между нижней поперечиной и верхней балкой. Колонны крепятся при помощи регулирующей гайки и контрагайки, образуя целую конструкцию, способную выдерживать усилие гидравлического пресса при его работе. Ползун и поршень основного цилиндра крепятся фланцем. Ползун оснащен направляющей втулкой, которая эффективно обеспечивает точность перемещения ползуна вверх и вниз. Для облегчения установки инструмента на ползун и на рабочий стол, имеются Т-образные пазы.
Главный цилиндр пресса ДА1438

1 - уплотняющее кольцо для профилированных отверстий (стопорное кольцо), 2 - направляющая лента,
3 - уплотняющее кольцо для профилированных отверстий (стопорное кольцо), 4 - образное кольцо,
5 - направляющая лента, 6 - пылезащитное кольцо
Главный цилиндр пресса фиксируется на верхней балке при помощи корпуса цилиндра и гайки. Цилиндр соединен с ползуном через фланец. В нижней части цилиндра установлен фланец подвода масла в штоковую полость. Сверху имеется место для установки клапана наполнения и фланца подвода масла в поршневую полость. Корпус и шток поршня изготовлены из высококачественного материала. Шток поршня термически обработан и хромирован, а твердость направляющей части превышает HRC45. Основные уплотнения цилиндра выбираются в соответствии с государственным стандартом, а на направляющей штока поршня установлено неметаллическое износостойкое направляющее кольцо, которое эффективно предотвращает возникновение царапин на корпусе, вызванных соприкосновением металлических деталей друг с другом.
Цилиндр выталкиватель гидравлического пресса ДА1438

1 - уплотнения для отверстий, 2 - направляющий ремень, 3 - направляющий ремень,
4 - уплотнения, 5 - уплотнения вала с гнездом, 6 - пылезащитное кольцо
Цилиндр выталкиватель фиксируется внутри нижней поперечины, опираясь на корпус цилиндра и фиксируется гайкой, а регулируемое устройство ограничения перемещения устанавливается снаружи, что бы удобно регулировать ход выталкивателя.
Направляющая втулка колонны пресса ДА1438

Ползун пресса ДА1438

Электропитание
Механизм электропитания состоит в основном из гидроагрегата, электрического блока масляного насоса и блока двухходовых вставных клапанов. Это механизм, который производит и распределяет рабочее масло, чтобы основной электродвигатель выполнял все виды технологических действий. Система состоит из устройства преобразования энергии (масляный насос, гидравлический цилиндр), устройства регулировки энергии (клапан) и устройства передачи энергии (гидроагрегат, трубопровод). Ползун приводится в движение вверх и вниз при помощи управления электрической системой, выполняются все виды технологических действий.
Гидроагрегат
Гидроагрегат представляет собой жесткую сварную конструкцию и размещается с правой стороны пресса. Верхняя часть оснащена гидроблоками и электродвигателем насосной установки, а масляный насос является встроенным, что позволяет эффективно снизить уровень шума, вызванного работой пресса. Боковая часть гидроагрегата оснащена глазком уровня жидкости, и лючком очистки, облегчающее очистку внутренней части гидроагрегата от примесей. Верхняя крышка гидроагрегата оснащена воздушным фильтром. При изменении уровня жидкости в баке всасывается воздух и выпускается через фильтр, чтобы предотвратить попадание пыли в бак.
Электродвигатель насосной установки
На данном прессе установлен поршневой насос и электродвигатель, которые соединяются муфтой.
Блок двухходовых вставных клапанов
Блок двухходовых вставных клапанов, установленный в этом прессе, представляет собой новый недавно разработанный тип гидравлического компонента. Он обладает характеристиками низкого сопротивления потока, большей пропускной способностью масла, высокой скоростью действия, хорошим уплотнением, небольшим уровнем утечек, не заклинивает, сильной противозагрязнительной способностью, небольшими размерами, длительным сроком службы, простотой технического обслуживания.
Клапан наполнения
Принцип работы клапана наполнения аналогичен принципу одностороннего клапана управления жидкостью, который используется для быстрого заполнения маслом главного цилиндра.
Трубопровод
Соединительная линия каждого гидравлического компонента состоит из бесшовных стальных труб высокого давления.
ГИДРАВЛИЧЕСКАЯ СИСТЕМА ПРЕССА ДА1438
Гидравлическая система пресс ДА1438 состоит из устройства преобразования энергии (масляный насос и цилиндр), регулятора давления (различные клапаны) и устройства подачи энергии (трубопровод). Управление движением ползуна и движением поршня выталкивателя осуществляется под управлением электрической системы, чтобы выполнить различные необходимые для процесса движения.
Пресс ДА1438 имеет два режима работы: наладка и полуавтоматический режим, которые могут быть выбраны в соответствии с требованиями процесса конкретных действий.
Ниже приведено описание цикла полуавтоматического прессования.
Запуск масляного насоса
Подключите источник питания, нажмите соответствующую кнопку, чтобы запустить электродвигатель. Электродвигатель запускает работу осевого плунжерного насоса и подачу масла через клапан 3 обратно в бак. На все электромагнитные клапаны нет подачи электричества, в это время система находится в рабочем состоянии холостого хода.
Выберите режим полуавтоматический, а затем нажмите кнопку переключателя
«Вниз», как показано ниже.
- Ползун быстро движется вниз: подача электропитания осуществляется на электромагниты YV1, YV4, YV5, на остальное электромагнитное оборудование электричество не подается. Осуществляется подача масла от масляного насоса через гидрозамок 6 в главный цилиндр поршневой полости. Гидравлическое масло из штоковой полости через гидрозамок 9 поступает обратно в бак. Ползун быстро движется вниз, при этом клапан наполнения из-за самовсасывания открыт, большое количество гидравлического масла попадает в поршневую полость.
- Ползун быстро движется вверх: после завершения процесса, подача электропитания осуществляется на электромагниты YV1, YV6, Принудительно открывается клапан YV2 для сброса высокого давления из поршневой полости главного цилиндра. Затем подайте электропитание на электромагниты YV2, YV1, YV6, YV9. Гидравлическое масло из масляного насоса подается через клапан 8 в штоковую полость главного цилиндра. В это время клапан наполнения открывается при помощи клапана подачи гидравлического масла YV9. Из поршневой полости гидравлическое масло попадает через клапан наполнения обратно в бак наполнения. Ползун поднимается вверх до SQ1.
- Повторите приведенные выше шаги, пресс должен выполнить циклы назад и вперед.
Цилиндр выталкивателя
Если необходимо выполнить процесс подъема выталкивателя, можно нажать соответствующую кнопку. Подача электропитания осуществляется на электромагниты YV1, YV7, максимально шток выталкивателя. Подача электропитания осуществляется на электромагниты YV1, YV8 для опускания выталкивателя.
Циклограмма работы пресса
| Этапы цикла | Команда | Электромагниты | Прим | |||||||||
| от | до | Y1 | Y2 | Y3 | Y4 | Y5 | Y6 | Y7 | Y8 | Y9 | ||
| Настройка | ||||||||||||
| Быстрый ход ползуна вниз | SB6 | SQ2 | x | x | x | T1=3c | ||||||
| Рабочий ход ползуна вниз | SQ2 | SQ3 (3KM) | x | x | x | |||||||
| Сброс давления | SB7 | T1 | x | x | ||||||||
| Ход ползуна вверх | SB7 | SQ1 | x | x | x | |||||||
| Ход выталкивателя вверх | SB12 | SQ4 | x | x | ||||||||
| Ход выталкивателя вниз | SB13 | SQ5 | x | x | ||||||||
| Полуавтомат | ||||||||||||
| Быстрый ход ползуна вниз | SB8+SB9 | SQ2 | x | x | x | T1=3c | ||||||
| Рабочий ход ползуна вниз | SQ2 | SQ3 (3KM) | x | x | x | |||||||
| Сброс давления | SQ3 (3KM) | T1 | x | x | ||||||||
| Ход ползуна вверх | T1 | SQ1 | x | x | x | |||||||
| Ход выталкивателя вверх | SQ1 | SQ4 | x | x | ||||||||
| Ход выталкивателя вниз | SB13 | SQ5 | x | x | ||||||||
Меры предосторожности при запуске и ремонте гидравлической системы пресса ДА1438
- При запуске масляного насоса убедитесь, что запорный клапан масляного насоса открыт, что управление электродвигателем соответствует управлению масляным насосом, и что масляный насос не был поврежден.
- При снятии клапанов или других гидравлических компонентов, сначала остановите работу масляного насоса, закройте запорный клапан всасывающего порта масляного насоса, чтобы предотвратить соединение жидкости бака с гидравлическими компонентами, удаленными во время технического обслуживания, и гидравлическое масло вытечет. Во- вторых, отпустите нижнюю полость запорного клапана так, чтобы ползун свободно падал вниз и оставался в нижнем положении. Затем давление гидравлического масла в поршневой и штоковой полости будет равно нулю, что предотвращает повреждение гидравлических элементов. Затем происходит выброс масла с определенным давлением.
- Регулировка давления гидравлической системы: запустите масляный насос, а затем отрегулировать электромагнитный клапан YV1 вручную, наблюдайте за манометром. Можно регулировать давление основной гидравлической системы (25 мПа).
УСТАНОВКА ГИДРАВЛИЧЕСКОГО ПРЕССА ДА1438
Распаковка и транспортирование
После прибытия пресса ДА1438 на производство, пользователь должен сначала извлечь техническую документацию, проверить содержимое ящика в соответствии с упаковочным листом. После этого следует тщательно очистить каждую деталь пресса от консерванта. Затем необходимо выполнить подъем пресса и его установку. При подъеме следует обратить внимание на центр тяжести компонентов, выбрать отверстие для подъема пресса, а также трос и другие подъемные инструменты.
Установка
Пресс ДА1438 монтируется на железобетонный фундамент (см. схема фундамента), марка бетона, компоновка усиления, меры по гидроизоляции, освещение и т. д. определяются пользователем в соответствии с местным качеством почвы и другими конкретными обстоятельствами, чтобы обеспечить достаточную устойчивость фундамента для пресса.

Порядок установки пресса ДА1438 выглядит следующим образом
- Поместите пресс ДА1438 на фундамент, выполните регулировку положения, выровняйте верхнюю плоскость стола при помощи уровня, горизонтальный уровень пресса в каждой плоскости направления не должен превышать 0,20/1000 мм, а затем закрепите фундаментные болты.
- На столе нижней поперечины разместите тумбу (тумба не входит в комплект поставки). Её длина и ширина должна составлять не менее 800 мм (можно разделить на два блока). Не параллельность верхней и нижней плоскости должна быть менее 0,02/1000 мм, и выдерживать номинальную нагрузку. Для установки, проведения испытания и контроля давления высота должна быть не менее высоты закрытия пресса. Поместите ползун на тумбу расположенную на нижней поперечине, поместите четыре колонны в ползун и отверстие нижней поперечины, отрегулируйте положение верхней балки относительно нижней поперечины гайками, в соответствии с параметрами оборудования.
- Установите верхнюю балку с главным цилиндром, и затяните с помощью гаек.
- Установите гидроагрегат в соответствующем положении с правой стороны станины, закрепите его винтами.
- Установите электрический шкаф в соответствующем положении на фундаменте и закрепите его.
- Подключите все линии и магистрали в соответствии с гидравлической и электрической схемами.
- Проверьте соединение каждого крепежа и повторно затяните их при необходимости.
- Отрегулируйте параллельность и вертикальность ползуна в соответствии с точностью, указанной в сертификате.
- Заполните бак указанным гидравлическим маслом до соответствующего уровня. Данный прессДА1426 рекомендуется использовать противоизносное гидравлическое масло 46s.
ПОДГОТОВКА К ПЕРВОНАЧАЛЬНОМУ ПУСКУ ПРЕССА ДА1438
Проведение испытания привода от оригинального производителя выглядит следующим образом:
- Перед проведением испытания проверьте, правильно ли выполнена установка, надежны ли линии, тщательно проверьте правильность работы электропроводки, защитные меры, такие как: заземление, перегрузка по току в соответствии с правилами.
- В случае, если провод электродвигателя не подключен, сначала нажмите кнопку управления запуском питания и запуска электродвигателя, а затем в соответствии с системой регулировки и однократного двойного ручного управления, нажмите соответствующие кнопки, чтобы проверить электромагнитное оборудование и другие электрические компоненты, обратите особое внимание на переключатель хода и другие блокирующие элементы.
- Проверка направления вращения электродвигателя: гидравлическая панель на выпуске клапана дистанционного регулятора, ненадолго подайте электропитание на электродвигатель и быстро отключите его для проверки правильности направления вращающейся пластины. Если направление вращения определено как неправильное, отсоедините главный выключатель и переключите положение двух входных проводов питания на главном выключателе. Снова ненадолго подайте электропитание, для проверки правильного вращения электродвигателя.
- При движении в первый раз или после эксплуатации вся гидравлическая система находится под давлением, которое собирается в самом высоком положении цилиндра. Для спуска газа из цилиндров и трубопроводов, работать в следующем порядке:
- Включите главный переключатель.
- Включите управляющее напряжение, включите электродвигатель.
- Выбрать минимальный ограничитель напряжения.
- Выберите режим работы и настройки.
- Отрегулируйте лимит движения вверх и вниз до максимальной позиции хода.
- При работе с положительными и противоударными кнопками поршни перемещаются вперед и назад несколько раз с максимальным ходом, так что вся система может автоматически вентилироваться.
- Проверьте точность пресса в соответствии с положениями сертификата соответствия, настройте параллельность плоскости ползуна по отношению к столу нижней поперечины и перпендикулярность хода ползуна по отношению к рабочей поверхности, пока она не будет приведена в соответствие, в противном случае это повредит направляющие части.
- При необходимости отрегулируйте положение каждого концевого выключателя, отрегулируйте давление в системе управления клапана, а затем затяните против раскручивающуюся гайку.
- После того, как система заработает нормально, медленно нажмите на ручку клапана давления, порядок давления может подниматься шаг за шагом от низкого до высокого: 5, 10, 15, 20, 25 МПа, а предохранительный перепускной клапан до 27 МПа.
- Поверните селекторный переключатель в положение «полуавтомат», переместите переключатель в нужное положение. Для проведения испытания полуавтоматического цикла, для защиты от давления требуется снижение давления не более 2,5 МПа за 10 минут.
Возможные неисправностипресса ДА1438 и методы их устранения
-
Влагоотделитель не очищает сжатый воздух.
Большое количествоконденсата в стакане влагоотделителя. Спустить конденсат Износ манжет Заменить манжеты -
Операционный сбой
Электрическая проводка не является безопасной или работает неправильно Проверьте электрическую проводку. Недостаточный контроль давления масла. Увеличить контроль давления масла. Недостаточный уровень жидкости в баке. Заправка масла до стандартного уровня. -
Сдвиг ползуна
Сбой в системной памяти впускного воздушного или масляного насоса. Проверьте несколько раз, чтобы всасывающая линия насоса всасывания и давление полного движения. Неправильная точность регулировки или отсутствие смазки на направляющих. Снова отрегулируйте точность и впрысните смазку. -
Низкая скорость перемещения под высоким давлением или замедление повышения давления
Износ или перегорание осевого насоса. Если разгрузка насоса слишком велика (как правило, не более 7 л/мин), снимите кольцо инспекционного уплотнения и распределительную пластину подачи масла и отремонтируйтеих. Серьезная утечка масла в системе. Сначала проверьте целостность заправочного клапана или отверстие клапана и его износ. -
Ползун скользит после остановки
Утечка уплотнения цилиндра. Замените уплотнение. Конус клапана не герметизирован или присутствуют утечки на стыке. Проверка выполнения подготовительных работ или затягивания. -
Индикатор включения питания не включается при включении питания
Кнопочный выключатель не включен. Пронаблюдайте, находится ли кнопочный выключатель во включенном положении. Исходный трансформатор управления, автоматический выключатель на вторичной стороне не замкнут или автоматический выключатель питания на входе/выходе импульсного источника электропитания постоянного тока не замкнут. Посмотрите, подключен ли автоматический выключатель. Неисправность индикатора включения. Проверьте проводку и лампочку индикатора. -
Электродвигатель масляного насоса не запускается
Уровень масла в баке слишком низкий, срабатывает аварийный датчик уровня масла. Соблюдайте высоту уровня масла, проверьте причину утечки масла, устраните утечку масла, заполните бак маслом, чтобы были выполнены требования к высоте уровня масла. Кнопка аварийного останова находится в нажатом положении. Проверьте состояние каждой кнопки аварийной остановки. Линия сломана или плохой контакт. Заменить линию или сделать хороший контакт. -
Манометр сильно колеблется
Масломер завоздушен. Соблюдайте высоту уровня масла, проверьте причину утечки масла, устраните утечку масла, заполните бак маслом, чтобы были выполнены требования к высоте уровня масла. Кнопка аварийного останова находится в нажатом положении. Проверьте состояние каждой кнопки аварийной остановки. Линия сломана или плохой контакт. Заменить линию или сделать хороший контакт. Масломер завоздушен. При включенном давлении отпустить предохранительное устройство. Вибрации в трубе или в механизме системы. Проверьте линии на предмет их засорения. Манометр поврежден. Замените манометр. -
Лампы не включаются
Не поступает электропитание. Измерьте электропитание светодиода. Плохой световой контакт или перегорела лампочка. Проверьте, не повреждена ли лампа.
ТЕХНИЧЕСКОЕ ОБСЛУЖИВАНИЕ ГИДРАВЛИЧЕСКОГО ПРЕССА ДА1438
Правильное использование пресса ДА1438 и оборудования, тщательное обслуживание и тщательное соблюдение правил безопасности эксплуатации, продлит срок службы оборудования и обеспечит необходимые безопасные производственные условия. Для обеспечения этого условия, прежде всего, следует ознакомиться с конструкционными характеристиками пресса и операционными процедурами, а также освоить ее характеристики. Для удобства пользователей, в соответствии с общим применением соответствующего технического обслуживания и безопасности эксплуатации, некоторые комментарии приведены только для справки.
- Рекомендуется использовать рабочее масло N46. Также можно выбрать противоизносные гидравлические масла, в соответствии с температурой соответствующего класса гидравлического масла. Температура используемого масла должна быть в диапазоне от 15 °C до 60 °C.
- Перед заправкой, проверьте очистку гидравлических деталей, особенно внутри бака, при необходимости, выполнить очистку, в процессе очистки не следует использовать хлопчатобумажную ветошь.
- После одной недели эксплуатации нового пресса ДА1438 уровень загрязнения масла следует проверять один раз, а рабочее масло следует заменять каждые шесть месяцев, первую замену выполнить через 2 месяцев эксплуатации.
- Масло должно быть тщательно отфильтровано, прежде чем его можно добавить в бак, количество масла не должно быть ниже 3/4 от уровня масла.
- Направляющая ползуна должна быть хорошо смазана.
- Под номинальной силой, допускается максимально допустимый эксцентриситет. Для концентрированной нагрузки 30 мм, эксцентриситет слишком велик, чтобы произошла натяжка колонн или вызывает возникновение других нежелательных явлений.
- Манометры, используемые прессом, должны калиброваться раз в полгода.
- Регулярно проверяйте фиксирующие болты клапан наполнения и основных соединений, таких как цилиндры и ползуны (каждые 2-3 месяца) в зависимости от используемого сдвига. Крепления не должны быть ослаблены.
- Когда пресс отключен на длительное время, рабочие и скользящие поверхности должны быть очищены и покрыты маслом во избежание коррозии уплотнения.
- Когда пресс не используется, ползун должен быть опущен вниз, а форма закрыта.
ЭЛЕКТРООБОРУДОВАНИЕ ГИДРАВЛИЧЕСКОГО ПРЕССА ДА1438
- Насос гидросистемы пресса приводится во вращение асинхронным трехфазным двигателем.
- 10.2.2. Двигатель маслостанции включается по схеме «Звезда треугольник» с использованием приставки на контактор «Задержка на включение».
- Управление гидроаппаратами осуществляется электромагнитными клапанами. Рабочее напряжение катушек электромагнитов – 24В постоянного тока. Ограничение движения механизмов пресса осуществляется конечными выключателями.
- Система управления построена на базе ПЛК Omron CP1Е и панели оператора Omron NB5Q.
- Управление прессом осуществляется с пульта управления. На панели пульта располагаются панель оператора, кнопки управления, переключатели, индикация
- На дверце электрошкафа установлен вводной автомат
- Через отверстия в днище электрошкафа подводится питание ~380В трехфазного переменного тока 4х16мм2.
- Схема электрическая принципиальная электрооборудования пресса приведена в приложении А.
Пульт управления гидравлическим прессом ДА1438

Переносной пульт управления гидравлическим прессом ДА1438

Первоначальный пуск
Первоначальное включение гидравлического пресса ДА1438 после монтажа должно осуществляться опытным и достаточно квалифицированным персоналом, имеющим допуск к производству пуско-наладочных работ и предварительно ознакомленным с принципиальной электросхемой гидравлического пресса и данным руководством. До включения вводного выключателя необходимо проверить внешним осмотром качество монтажа электрооборудования и электроразводки в электрошкафу, на станине , гидроагрегате, и убедиться в отсутствии внешних дефектов. В электрошкафу, с помощью прибора Ц4317, или ему подобного, проверить все точки подключения проводов относительно корпуса. Замыканий на корпус не должно быть. При осмотре необходимо особое внимание обратить на правильность выполнения защитного заземления. Кроме внешнего осмотра защитных цепей, необходимо измерить величину сопротивления между любой металлической частью пресса и устройством заземления, находящемся на вводе. Оно не должно превышать 0,1Ом, в противном случае работа ЗАПРЕЩАЕТСЯ!
На пульте управления переключатель SA2 установить в положение «Наладка». Включением вводного автомата QF1 подключить электрооборудование к цеховой сети. Включить в силовом шкафу все автоматические выключатели.
Выключателем цепей управления SA1 включить цепи управления. На пульте управления должен засветиться «Индикатор питания». После проверки электрооборудования и устранения недостатков закрыть пульт на ключ. Кратковременным нажатием на кнопки включения / отключения электродвигателя проверить правильность вращения двигателя.
Описание режимов работы пресса ДА1438
Система управления прессом ДА1438 обеспечивает работу в режимах «Наладка» и «Полуавтомат». На панели оператора на главном экране (рисунок 3) отображается текущее состояние пресса, сигналы включенных аппаратов (рисунок 4) отображаются на экране
Режим «Наладка»
- В режиме «Наладка» все движения выполняются, пока нажата соответствующая кнопка. Движение ползуна вниз осуществляется, пока нажата кнопка на панели пульта управления «Ползун вниз» SB6. Движение ползуна вниз возможно, если выталкиватель находится в нижнем положении, т.е. замкнут SQ5. Ход ползуна вниз начинается с верхнего положения, которое задается концевым выключателем SQ1. До выключателя SQ2 ползун перемещается на холостом ходу, после достижения SQ2 ползун перемещается на рабочем ходу до конечного выключателя SQ3, если выбран режим «По пути», либо до набора давления , установленного на электроконтактном манометре ЭКМ, если выбран режим «По давлению»,
- после чего движение прекращается.
- Движение ползуна вверх выполняется, пока нажата кнопка «Ползун вверх» SB7.
- Движение выполняется до срабатывания SQ1.
- Движение выталкивателя вверх осуществляется, пока нажата кнопка SB12. Движение выталкивателя вверх возможно, если ползун находится в верхнем положении, т.е. замкнут SQ1. Движение выталкивателя вверх ограничено концевым выключателем SQ4.
- Движение выталкивателя вниз осуществляется, пока нажата кнопка SB13. Движение выталкивателя вниз ограничено концевым выключателем SQ5.
- Исходное положение пресса ДА1438 – ползун вверху, выталкиватель внизу, при этом замкнуты концевые выключатели SQ1 и SQ5. Исходное положение необходимое условие для запуска пресса в работу в режиме «полуавтомат».
Режим «Полуавтомат»
В данном режиме пресс ДА1438 отрабатывает автоматически один цикл. Параметры работы цикла задаются оператором с панели оператора. Запуск цикла осуществляется оператором. Перед запуском пресса в работу в режиме «Полуавтомат» пресс ДА1438 должен находиться в исходном положении.
Для запуска нового цикла из исходного положения следует нажать и удерживать кнопки двурукого управления SB8 и SB9 с переносного пульта управления (рисунок 2) до окончания холостого хода ползуна, т.е. до замыкания SQ2. Если кнопки отпустить раньше цикл прервется.
По достижении ползуном концевого выключателя SQ2 начинается рабочий ход. Кнопки двурукого управления можно отпустить. Далее выполняется полуавтоматический цикл., ползун на рабочем ходу опускается вниз до срабатывания конечного выключателя SQ3, если выбран режим «По пути», либо до срабатывания ЭКМ, если выбран режим «По давлению».
По сигналу от SQ3 (ЭКМ) происходит сброс давления (3сек) и ползун на быстром ходу поднимается до своего исходного положения.
Цикл завершен, если выбран режим «без выталкивателя».
Если выбран режим «с выталкивателем», то по окончании хода ползуна вверх, выталкиватель поднимется вверх до SQ4. Для опускания выталкивателя следует нажать кнопку «Выталкиватель вниз» (SB13), и выталкиватель опуститься до SQ5. Цикл завершен.
Блокировки пресса ДА1438
- Аварийный разъем, SB14 – при нажатии на кнопку «аварийный разъем», работа пресса ДА1438 прерывается, ползун уходит в исходное положение.
- Блокировка хода ползуна вниз , выталкивателя вверх, если стол находится вне пресса, не замкнут конечный выключатель
- Блокировка хода ползуна вниз, если выталкиватель не в нижнем положении.
Блокировка хода выталкивателя вверх, если ползун не в верхнем положении.
МЕРЫ БЕЗОПАСТНОСТИ ПРИ РАБОТЕ НА ГИДРАВЛИЧЕСКОМ ПРЕССЕ ДА1438
Перед началом эксплуатации пресс, гидроагрегат и пульт должны быть заземлены согласно ПУЭ.
ЗАПРЕЩАЕТСЯ:
- Снимать с наборов зажимов защитные крышки, имеющие знак "Опасно! Под напряжением" и крышки аппаратов местного освещения, не отключив предварительно пульт на распределительном пункте цеховой сети.
- Работать при незаземленном прессе, гидроагрегате, шкафу, других элементах электрооборудования, подлежащих заземлению.
- Работать на прессе при открытой двери электрического шкафа.
- Оператору производит какие-либо переключения режимов на пульте управления во время перемещения механизмов пресса, изменять настройки режимов во время полуавтоматического цикла.
- Допускать к работе и обслуживанию пресса необученный персонал.
- Работать на прессе в случае обнаружения оголенных участков электропроводки.
- Исключать любую из блокировок.
ВНИМАНИЕ!
После окончания работы на прессе вводной автомат QF1 должен быть выключен, цепи управления должны быть отключены выключателем цепей управления (SА1).
По Техническому Заданию заказчика прессы 4-х колонные модели ДА, могут быть изготовлены в различной комплектации, при этом могут измениться габаритные размеры и масса пресса. Подробное ТКП можно получить после предоставления Технического Задания. Технические изменения, существенно не влияющие на характеристики оборудования, завод-изготовитель оставляет за собой.
Стандартная комплектация ДА1438
- Пресс в сборе
- Гидроагрегат
- Шкаф электрического управления
- Комплект документации:
- паспорт,
- руководство по эксплуатации,
- декларация соответствия
Дополнительные опции ДА1438
- Фотобарьер
- Выкатной стол
С этим товаром покупают
ПромСтройМаш является непосредственным производителем ДА1438 Мы производим и продаём Пресс гидравлический четырехколонный ДА1438 во все регионы РФ и страны ближнего зарубежья, такие как Беларусь, Казахстан. ДА1438 нашего производства хорошо зарекомендовали себя в Москве, Ярославле, Нижнем Новгороде, Екатеринбурге, Новосибирске и других городах России. Купить ДА1438 вы можете непосредственно у нас или у наших дилеров. Максимальное усилие 630 тонн
