Запросить
коммерческое предложение
коммерческое предложение
Нужна консультация?
Закажите обратный звонок
Мы свяжемся с Вами в ближайшее время
Мы свяжемся с Вами в ближайшее время
Остались вопросы?
Свяжитесь с нами удобным способом
Назначение
Характеристики
Описание
Комплектация
Назначение ножниц гильотинных с пневматическим приводом модели НД3318
Ножницы серии "НД" с ручной настройкой зазора между ножами и ручным приводом заднего упора. Задний упор предназначен для установки заданного размера отрезаемой заготовки. Ножницы серии надежны в работе, просты в эксплуатации, несложны в ремонте. Обеспечивают высокую точность отрезаемых заготовок, деталей.
Система смазки и электрооборудования позволяет их эксплуатацию в условиях низких температур, что невозможно при работе на гидравлических ножницах. Ввиду отсутствия подтекания масла, как это бывает при работе на гидравлических ножницах, обеспечивается чистота рабочей зоны ножниц.
Кривошипные листовые ножницы с наклонным ножом НД3318 предназначены для резки листового металла с пределом прочности 500 МПа и с наибольшими размерами поперечного сечения 6,3х2000 мм. Возможна также разрезка неметаллических листовых материалов, исключающих быстрое затупление режущих кромок ножей и растрескивание разрезаемого листа.
Ножницы находят широкое применение в заготовительных цехах предприятий машиностроения, автотракторостроения, авиастроения, судостроения, сельхозмашиностроения и других отраслях промышленности.
Базовое климатическое исполнение УХЛ категория размещения 4 по ГОСТ 15150.
Технические характеристики НД3318
| Толщина разрезаемых листов с временным сопротивлением σвр=450 МПа, мм | 6,3 |
| Ширина разрезаемых листов, мм | 2000 |
| Длина листа отрезанного с упором, мм | 600 |
| Частота ходов ножа, холостых, мин-1 | 50 |
| Угол наклона подвижного ножа | 1°30' |
| Расстояние от верхней кромки нижнего ножа до уровня пола, мм | 900 |
| Расстояние между стойками в свету, мм | 2270 |
| Мощность электродвигателя, кВт | 7,5 |
| Длина | 3125 |
| Ширина | 1600 |
| Высота | 1550 |
| Масса, кг | 4520 |
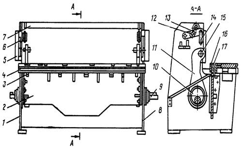
УСТРОЙСТВО И РАБОТА НОЖНИЦ ГИЛЬОТИННЫХ МОДЕЛИ НД3318
Расположение составных частей ножниц НД3318

| Назначение | Обозначение | Количество | |
| 1 | Электрошкаф | 92А.001 | 1 |
| 2 | Счетчик числа ходов | 44.001 | 1* |
| 3 | Конечный выключатель | 41.001 | 1 |
| 4 | Ограждение конечного выключателя | 74.001 | 1 |
| 5 | Пульт управления | 93.001 | 1 |
| 6 | Система смазки | 81.001 | 1 |
| 7 | Боковой упор | 35.001 | 1* |
| 8 | Освещение линии реза | 76.001 | 3 |
| 9 | Ограждение станины | 71.001 | 1 |
| 10 | Воздухопровод | 43.001 | 1 |
| 11 | Передний упор | 36.001 | 1* |
| 12 | Прижимная балка | 32.001 | 1 |
| 13 | Ограждение ножевой балки | 72.001 | 1* |
| 14 | Угловой упор | 37.001 | 1* |
| 15 | Ограждение привода | 73.001 | 1 |
| 16 | Задний упор | 34.001 | 1 |
| 17 | Уравновешиватель | 33.001 | 2* |
| 18 | Датчики заднего упора | 39.001 | 1 |
| 19 | Станина | 11.001 | 1* |
| 20 | Ножевая балка | 31.001 | 1 |
| 21 | Защитная решетка | 75.001 | 1 |
| 22 | Электрошкаф управления | 91.001 | 1 |
| 23 | Электродвигатель | 21.001 | 1 |
| 26 | Редуктор червячный с муфтой-тормозом | 24.001 | 1 |
* - Поставляется по особому заказу за отдельную плату.
Расположение органов управления

| Позиция на рис. 2,3 | Органы управления и их назначение |
| 1 | Переключатель управления |
| 2 | Переключатель режимов работы |
| 3 | Арматура сигнализации |
| 4* | Счетчик числа ходов* |
| 7 | Кнопка „Общий стоп” |
| 8 | Электрическая педаль управления ножницами |
| 9 | Выключатель освещения линии реза |
| 10 | Кнопка „Пуск электродвигателя” |
| 11 | Кнопка „Стоп непрерывных ходов” |
| 12 | Кнопка „Пуск муфты” |
| 13 | Вводной выключатель |
| 14 | Эксцентрик регулировки стола |
| 15 | Маховичок перемещения заднего упора |
* - доп. опция
УСТРОЙСТВО И ПРИНЦИП РАБОТЫ НОЖНИЦ НД3318
Кинематическая схема ножниц НД3318

| Куда входит | Поз. на рис. | Число зубьев зубчатого колеса или заходов червяков, ходовых винтов | Модуль или шаг, мм | Ширина обода зубча-того колеса, мм | Материал | Показатели свойств материала | ||
| Червячный редуктор с муфтой-тормозом | 12 | 3 | 10 | 200 | Сталь 40Х ГОСТ4543-71 | Зубья ТВЧ h1,3...2,2 HRC 50...54 |
||
| 13 | 45 | 10 | 100 | ЦАМ9-15 ГОСТ21438-75 | ||||
Станина НД3318

Станина является базовой сборочной единицей, на которой крепятся все остальные сборочные единицы ножниц. Станина имеет сборно-сварную конструкцию и состоит из двух стоек 1 и 8, которые соединены между собой траверсой 2 и стяжкой 7.
На стойки и траверсу опирается стол 4, к которому с помощью винтов крепятся нижние ножи 16. Затягивание гаек на винтах, крепящих ножи, производится через окна в столе.
Регулировка зазора между ножами ножевой балки и станины осуществляется перемещением стола 4 с помощью эксцентриков. Винты 3 перед регулировкой зазора необходимо отпустить, а после регулировки— затянуть.
Направляющие 5 стоек вместе с прикрепленными к ним накладными 6наклонены к плоскости стола под углом 870.
Установка ножа по высоте при переточке и замене ножей производится подгонкой планки 17.
В сборочную единицу „Станина" входит также эксцентриковый вал 9 с насажденными на нем эксцентриками 10 и шатунами 11. С помощью осей 15 шатуны соединяются с ножевой балкой.
С внутренних сторон стоек 1 и 8 на осях 12 установлены рычаги 13, соединенные с ножевой балкой (серьгами14) с одной стороны и с уравновешивателями – с другой.
Привод ножниц НД3318

Привод ножниц осуществляется от электродвигателя 2, установленного на качающейся плите 1, через клиноременную передачу 3 на маховик 4.
Маховик ножниц установлен на редукторе.
Маховик с помощью пальцев связан с ведущими дисками муфты-тормоза.
Муфта-тормоз, приводной вал и червячный редуктор с муфтой-тормозом

Муфта-тормоз состоит из нормализованной сборочной единицы «Муфта-тормоз» модели УВ3132, воздухоподводящей головки 14 и маховика 1, опорами которого насаженные на втулку 2 радиальные шарикоподшипники 4. Втулка 2 установлена на приводном валу 16 (рис. 8).
Жестко сблокированная многодисковая фрикционная муфта-тормоз с пневматическим включением состоит из трех частей: ведущей, ведомой и тормозной.
К ведущей части относятся ведущие диски 6муфты с фрикционными накладками 8.
В ведомую часть входят ступица 12 с неподвижно присоединенным поршнем 13, цилиндр 11, перемещающийся вдоль оси опорных дисков 5 муфты и тормоза, нажимной диск 10 тормоза и промежуточный диск 7 муфты.
Тормозная часть состоит из тормозного диска 9 с фрикционными накладками.
Работа муфты-тормоза происходит следующим образом: сжатый воздух через воздухоподводящую головку 14 поступает впневмокамеру15, перемещает цилиндр 11 вдоль оси опорных дисков 5 в сторону муфты и зажимает ведущие диски 6, связанные с постоянно вращающимся маховиком 1через пальцы 3, обеспечивая передачу крутящего момента через ступицу 12 на приводной вал 16 (рис. 8).
Червячный вал 16 ножниц соединен с червячным колесом, состоящим из зубчатого венца 17 и ступицы 19, соединенных болтами 18. Червячное колесо через шлицевую втулку 20 соединено с эксцентриковым валом 21.

Приводной вал 16 смонтирован на конических роликовых подшипниках в ступице правой стойки станины. На одном конце вала установлен маховик 1, на другом конце — вал-шестерня 17, от которой вращение передается зубчатому колесу, смонтированному на эксцентриковом валу.
Ножевая балка НД3318
Ножевая балка представляет собой жесткую конструкцию сварного типа, состоящую из вертикального листа 8, горизонтального листа 5 и наклонного листа 6. С проушиной 7, приваренной к листу 8, соединяется шатун станины, благодаря чему, балка совершает возвратно-поступательное движение. Движение балки происходит в направляющих под углом 3' к вертикальной плоскости. В нижней части ножевой балки имеется паз, в котором крепятся ножи 2 и 4.

Ножевая балка имеет два выступа 1 и 3, с помощью которых при возврате в верхнее исходное положение ножевая балка приподнимает прижимную балку.
Прижимная балка
Прижимная балка 8 имеет выступы и скользит в пазах, образованных направляющими 3, 19 и планками 2, 20. Ножевая балка скользит в пазах, образованных накладками 4, 5, 6, 13, 18 и планкой 17.

Крепление направляющих 3 и 19 к станине осуществляется через приставки 7 и 14.
Зазор в направляющих ножевой балки регулируется подгонкой компенсационных прокладок 1 и 16.
Боковой зазор в направляющих ножевой балки регулируется перемещением планки 17 винтами 15.
Прижимная балка 8взаимодействует с ножевой балкой. Высота прижимной балки над столом в верхнем положении регулируется винтами 11, которые упираются в выступы 12 ножевой балки.
При совершении рабочего хода происходит одновременное опускание ножевой и прижимной балок. Прижим листа осуществляется за счет силы сжатия пружин 10 и собственного веса балки 8, причем сила сжатия пружин регулируется винтами 9.
Уравновешиватель НД3318
На внутренних сторонах обеих стоек станины установлены уравновешиватели. Штоки 1 уравновешивателей с помощью осей 4 связаны с рычагами станины. При опускании ножевой балки шток 1поднимается вверх и сжимает пружину 2, которая опирается на кронштейн 3 станины.

Пружина 2 смонтирована с предварительным сжатием, поэтому даже в случае разладки тормоза ножевая балка удерживается в верхнем положении.
Кроме того, за счет постоянно направленного усилия пружин все зазоры в сочленениях подвижных частей цепи «эксцентриковый вал — шатуны — ножевая балка — уравновешиватели» выбираются в одну сторону, что обеспечивает плавную работу ножниц. Поскольку действие уравновешивателей на ножевую балку направлено под углом 1500к вертикали, ножевая балка постоянно прижата к направляющим станины, что обеспечивает постоянство зазора между ножами.
Задний упор

Установка упорной линейки на расстояние менее 700 мм от нижнего ножа, то есть на ширину отрезаемой полосы, осуществляется с помощью вращения маховичков, которые передвигают зубчатые валы.
Конечный выключатель НД3318
На левом конце эксцентрикового вала насажена втулка 2 с закрепленными на ней выступом который касается колесик конечного выключателя 1 и предназначен для управления электромагнитными вентилями трехходового сдвоенного сблокированного клапана.

Воздухопровод НД3318
Воздухопровод состоит из пневматического блока 1, ресивера (конструкция ресивера может быть изменена по усмотрению производителя) 2, и трехходового сдвоенного сблокированного клапана 3, соединенных линиями связи с муфтойтормозом.
Трехходовой сдвоенный сблокированный клапан представляет собой сдвоенный пневматический клапан с сервоуправлением от электропневматических включающих вентилей. Исполнение клапана нормально-закрытое, то есть при обесточенных катушках электромагнитов включающих вентилей переход через клапан закрыт.

Для включения клапана на обмотки катушек электромагнитов включающих вентилей подается напряжение, при этом клапан вентиля связывает полость I, постоянно соединенную с ресивером ножниц, с полостью IV. Сжатый воздух, подводимый к включающим вентилям, проходит через фильтр 9. Под давлением сжатого воздуха поршни6поднимаются вверх, сжимают пружины 4 и, предварительно уменьшая живое сечение, перекрывают выхлопные отверстия. Одновременно в конце хода штока 7 поднимаются клапаны 2, сжимая пружины 1. Полости I и IIсоединяются. Полость IIIотключается, соединяя пневмосеть от ресивера с пневмоцилиндром муфты-тормоза, и происходит включение дисков муфты.
После снятия напряжения с обмоток катушек электромагнитов (отключение муфты) вентили перекрывают доступ сжатого воздуха в полость IV, одновременно соединяя ее с атмосферой. При этом давление в полости IVпадает, и поршни 6под действием пружин 4возвращаются в исходное положение, соединяя полость II с атмосферой. Сжатый воздух, выходя из полости, проходит через глушители 8. В это время пружины1возвращают в исходное положение клапаны 2, перекрывая доступ сжатого воздуха из ресивера в муфту-тормоз и клапан. Муфта-тормоз отключается.
Трехходовой сдвоенный сблокированный клапан НД3318

Если при включении клапана один из поршней не включится то сжатый воздух будет поступать из полости II в атмосферу через щель между кольцом 5 и втулкой 3, и включение муфты-тормоза не произойдет. Одновременно коромысло перекосится и нажмет на микропереключатель, который отключит электрическую цепь управления ножницами.
Если во время работы на одиночных ходах один из клапанов электропневматического управления не выключится (не соединится с атмосферой), то управляемый им поручень останется в верхнем положении; при этом верхний клапан будет открыт, а нижний —закрыт. Сжатый воздух, пропускаемый верхним клапаном, будет поступать через открытый нижний клапан другого поршня в атмосферу. При этом коромысло также перекосится и отключит электрическую цепь управления ножницами.
Защитная решетка
Защитная решетка полностью преграждает доступ к ножам и прижиму. Решетка представляет собой рамку, состоящую из жестко связанных между собой вертикальных и горизонтальных планок 2 и 3.

Защитная решетка прикреплена к прижимной балке, что предохраняет рабочих от несчастных случаев при ремонте и техническом обслуживании ножниц.
Освещение зоны реза НД3318
Освещение зоны реза позволяет производить работу, связанную с разметкой листа.
ПНЕВМОСИСТЕМА НД3318
Описание работы пневмосистемы
Давление воздуха, поступающего из общезаводской магистрали должно быть не менее 0,5 МПа.
Сжатый воздух из общей магистрали поступает в ресивер 1. В случае падения давления ниже допустимого срабатывает реле давления, размыкая электрическую цепь управления и замыкая цепь контрольной лампы.
Из, ресивера воздух поступает через блок кондиционирования 2 и пневмораспределитель сдвоенный трехлинейный 3 к муфте-тормозу 4.
Принципиальная пневматическая схема НД3318

|
Поз. |
Обозначение |
Наименование |
Кол. |
Примечание |
|
2 |
Блок кондиционирования БК-16-2 УХЛ4 с манометром |
1 |
ДУ=16мм |
|
|
3 |
Пневмораспределитель сблокированный трехходовой У7124А |
1 |
ДУ=16мм |
|
|
4 |
Муфта тормоз УВ3132 |
1 |
Мкр=16000 кг/см |
|
|
1 |
Накопитель (ресивер) |
1 |
V=10 |
Указание по монтажу и эксплуатации НД3318
Пневмоаппараты, входящие в пневмосистему ножниц, крепятся к траверсе и соединяются между собой с помощью труб, напорных рукавов и концевых соединений в последовательности, указанной на принципиальной пневматической схеме.
Влагоотделитель и маслораспылитель должны находиться в ввертикальном положении.
Муфта-тормоз устанавливается с правой стороны ножниц. Установка на ножницах пневматического блока должна осуществляться таким образом, чтобы направление движения воздушного потока совпадало с направлением стрелок на корпусах влагоотделителя, регулятора давления и маслораспылителя.
Внимание! Необходимо периодически осуществлять выпуск конденсата из прозрачного стаканчика влагоотделителя и ресирверса.
Фильтр влагоотделителя оснащен фильтровальной металокерамической вставкой. Которая через каждые 2-3 месяца работы должна сниматься, промываться керосином или бензином и продуваться сжатым воздухом. Одновременно с этим следует очищать от загрязнения прозрачный стаканчик влагоотделителя.
Масло в маслораспылитель нужнозаливать до уровня, обозначенного линией на прозрачном стаканчике. Настройку подачи масла маслораспылителем следует производить из расчета одной капли на 15…..20 включений муфты-тормоза.
Не допускается снимать прозрачный стаканчик с влагоотделителя и заливать масло в маслораспылитель, не убедившись в отсутствии давления воздуха в пневмосистеме ножниц.
При обнаружении утечек сжатого воздуха в пневмосистеме ножниц следует проверить уплотнения на стыках соединений и затяжку крепежных винтов в пневмоаппаратах. При необходимости следует заменить вышедшие из строя уплотнения.
При наличии утечек сжатого воздуха в пневмосистеме ножниц допускается падения давления воздуха не более чем на 0,05 МПа в течении 15 с.
Перед пуском ножниц необходимо:
проверить наличие масла в маслораспылителе;
по манометру проверить наличие неоходимо давление сжатого воздуха в пневмосети;
проверить настройку регулятора давления и при необходимости отрегулировать его;
проверить закрытие винтеля ресиверса, предназначенного для спуска конденсата.
При работе ножниц необходимо:
- периодически (один раз в смену) выпускать накопившийся конденсат из влагоотделителя и ресрвеса;
- периодически (через каждые 2-3 месяца работы ножниц) снимать фильтр влагооделителя для его чистки и промывки;
- по мере необходимости доливать масло в маслораспылитель до уровня, обознченного линией на прозрачном стаканчике.
Возможные неисправности пневмосистемы НД3318 и способы их устранения
|
Неисправность |
Вероятная причина |
Способ устранения |
|
Падение давления в пневмосистеме без расхода сжатого воздуха
Влаготделитель не очищает сжаты воздух
Регулятор давления не обеспечивает нормального регулирования давления
Маслораспылитель не подает распыленное масло
В трехходовом сдвоенном сблокированном клапане нарушена синхронизация работы клапанов При пневмоблокировке в электрической цепи не снимаются напряжения
|
Негерметичность разъемных соединений
Большое количество конденсата в стаканчике влагоотделителя. Загрязнился металокерамический фильтр
Неплотное прилигание клапана.
Защемление толкателя клапана при его движении в направляющей втулке
Засорился дроссель или маслопроводные трубки
Установленные пружины имеют разные усилия
Вышел из строя один из выключателей |
Проверить и в случае необходимости подтянуть винты на пвневмоаппаратах и уплотнить резьбовые соединения Спустить конденсат.
Снять и прочистить фильтр
Проверить состояние резинового вкладыша клапана и при необходимости заменить его. Исправить поверхности толкателя клапана и втулки, а при необходимости заменить их Снять маслораспылитель и прочистить дроссель и маслопроводные трубки
Установить пружины с одинаковыми усилиями
Заменить выключатель |
СИСТЕМА СМАЗКИ НД3318
Описание работы системы смазки НД3318
Система смазки ножниц предусматривает следующие способы смазки:
а) смазка с помощью пресс-масленок-;
б) закладка консистентной смазки в ручную;
в) жидкая смазка.
Контроль за поступлением смазки к точкам централизованной смазки осуществляется визуально.
|
Точки смазки |
Место смазки |
Способ смазки |
Марка смазки |
Режим |
Кол-во |
|
1, 2 |
Опоры эксцентрикового вала |
Шприцевание |
ЦИАТИМ-203 ГОСТ 8773-73 |
1-2 раза в смену |
4, 5 – 3,5 см3, остальные 5 см3 в каждую точку |
|
3, 4, 5, 6 |
Втулки левого и правого шатунов |
||||
|
7, 8 |
Направляющие ножевой и прижимной балки |
||||
|
9, 10, 11, 12, 13, 14, 15, 16, 17, 18 |
Втулки |
1 см3 в каждую точку |
|||
|
25, 26 |
Подшипники червячного вала |
1 раз в три месяца |
|||
|
29 |
Подшипники маховика |
||||
|
30 |
Редуктор |
Заливка |
Масло И-40 ГОСТ 20799-88 |
1 раз в месяц |
3л |
Указания по монтажу и эксплуатации системы смазки
Перед пуском ножниц необходимо:
- набить все масленки согласно принципиальной схеме смазки ножниц;
- cмазать зубчатые колеса;
- залить масло в маслораспылитель
Не допускается работа на ножницах при отсутствии смазки на трущихся поверхностях сборочных единиц ножниц.
Схема смазки НД3318

ПОРЯДОК УСТАНОВКИ НД3318
Транспортирование
Транспортирование ножниц следует производить согласно схеме, приведенной. Захват ножниц производится за цапфы, установленные с наружной стороны стенок ножниц.
При транспортировании к месту установки и при опускании на фундамент ножницы не должны подвергаться сильным толчкам.
Схема транспортировки ножниц НД3318

Монтаж НД3318
Перед установкой ножницы необходимо тщательно очистить от антикоррозийных покрытий, нанесенных на открытые и закрытые поверхности. Первоначальная очистка производится деревянной лапаточкой, а оставшееся антикоррозийное покрытие удаляется с помощью керосина. Керосин не должен поподать на окрашеные краской поверхности. Промытые поверхности следует покрыть тонким слоем ЦИАТИМ-203 ГОСТ 8773-73.
Ножницы устанавливаются на бетонном фундаменте, глубина заложения которого зависит от грунта.
Горизонтальность установки ножниц на фундаменте достигается с помощью клиньев и выве ряется уровнем, установленным на столе. Точность установки ножниц в поперечном и про дольном направлениях должна быть выдержана в пределах 0,2 мм на длине 1000 мм.
Горизонтальность стола ножниц следует проверять не менее одного раза в месяц.
Примечание. Ножницы могут быть установлены на виброопоры.
ПОРЯДОК РАБОТЫ
Подготовка к первоначальному пуску и первоначальный пуск
Перед первоначальным пуском ножниц необходимо:
- заземлить ножницы, подключив их к общей цеховой системе заземления;
- подключить ножницы к пневмосети, проверив соответствие давления сжатого воздуха в цеховой пневмосети его номинальному значению (не менее 0,5 МПа);
- подключить ножницы к электросети, проверив соответствие напряжения сети электрооборудованию ножниц;
- выполнить все указания, изложенные в подразделах „Система смазки", «Пневмосистема» и « Электрооборудование» и относящиеся к пуску ножниц;
- проверить затяжку всех болтов, винтов и гаек, их стопорение, правильность крепления ножей, удалить с ножниц все посторонние предметы и проверить показания манометра регулятора давления.
Ознакомившись с расположением и назначением органов управления, следует проверить на холостом ходу работу муфты-тормоза, плавность хода ножевой балки, работу электрооборудования и пневмосистемы.
Убедившись в нормальной работе всех механизмов ножниц, можно приступать к настройке ножниц для работы.
Настройка, наладка и режимы работы НД3318
Наладку ножниц следует производить в режиме„Ручной проворот".
Настройка ножниц для резки полос заданной ширины производится перемещением заднего или переднего упоров.
Резка листов под углом производится по угловому упору, который устанавливается на столе.
Электросхема ножниц предусматривает следующие режимы работы: «Одиночный ход», «Непрерывный ход», «Толчок» и «Ручной проворот».
Регулирование
Регулирование зазора между ножами НД3318
При резке листов зазор между ножами должен устанавливаться в пределах 1/15... 1/30 толщины разрезаемого листа. Прямолинейность и чистота линии реза зависят от правильности регулировки зазора.
Не допускается резка листов максимальной толщины и ширины из материала с пределом прочности δВ>500 МПа.
В случае резки листа с пределом прочности δВ>500 МПа максимально допустимая толщина листа определяется по формуле:
δх = δ √¯50/ δВ,
где δX—максимально допустимая толщина листа из материала с пределом прочности δВ>500 МПа;
δ—максимально допустимая толщина листа для резки на данных ножницах, указан ная в их характеристике;
δВ—предел прочности материала листа, который требуется разрезать.
Следует помнить, что точность и надежность работы ножниц зависят от качества заточки ножей.
НЕ ДОПУСКАЙТЕ РЕЗКИ ЗАТУПЛЕННЫМИ НОЖАМИ!
Ножи имеют четыре режущие кромки, поэтому при затуплении одной кромки ножи необходимо проворачивать.
Болты, крепящие ножи, должны быть всегда затянуты.
Для смены и установки ножей необходимо:
- снять предохранительную решетку;
- отвернуть гайки винтов, крепящих ножи к ножевой балке, и поочередно снять ножи;
- проверить ножи и их опорные поверхности в ножевой балке, повернуть каждый нож другой режущей кромкой и установить его на прежнее место: снять нижние ножи, повернуть и установить каждый нож другой режущей кромкой и закрепить его винтами.
После переточки ножей путем подгонки компенсационных прокладок под ножами выдержать открытую высоту между нижним и верхним ножами, равную 15,4 мм, обеспечив тем самым возможность продольной резки листа.
После смены ножей производится регулирование зазоров между верхним и нижним ножами.
Для этого необходимо:
- опустить ножевую балку на полную величину хода путем вращения маховика с помощью ломика;
- ослабить винты, которыми стол крепится к станине;
- подвинуть стол с помощью эксцентриков так, чтобы верхний нож по отношению к нижнему был установлен с необходимым зазором (величина зазора проверяется щупом и устанавливается сначала с левой стороны, а затем справой).
После установки зазора нужно затянуть винты, которые крепят стол к стойкам и траверсе.
Регулирование привода
При эксплуатации ножниц следует периодически контролировать и регулировать натяжение ремней.
Натяжение ремней регулируется поворотом качающейся плиты. При выходе из строя одного из ремней необходимо снимать весь комплект.
Регулирование положения ножевой балки в верхней мертвой точке
Регулировка положения ножевой балки в верхней мертвой точке осуществляется следующим образом:
- в режиме «Ручной проворот» поворотом эксцентрикового вала ножевая балка выводится вверхнюю мертвую точку;
- в режиме «Одиночный ход» проверяется останов ползуна в верхней мертвой точке. Допускается отклонение ±50 ;
- при отсутствии необходимого останова выступ смещается на угол смещения верхней мертвой точки;
- после установки ползуна в верхней мертвой точке проверяется угол разброса останова путем совершения не менее 20 одиночных ходов.
Если угол разброса останова превышает допустимый угол (±50), то это указывает на некачественность пружин в муфте-тормозе или на наличие большого зазора между нажимным диском 10 и тормозным диском 9.
Регулирование муфты-тормоза НД3318
В процессе эксплуатации муфты-тормоза изнашиваются фрикционные накладки и манжеты поршня, что приводит к увеличению хода А цилиндра 11 и к увеличению расхода сжатого воздуха.
В нормально отрегулированной муфте-тормозе А= 1 ... 1,75 мм, В=3,25 ... 4мм. При достижении ходом А значения 3,5 мм должно производиться регулирование муфты-тормоза.
Регулирование муфты-тормоза начинается с замера зазора В между нажимным диском 10 тормоза и поршнем 13 через боковые отверстия цилиндра 11. Если зазор В окажется за пределами диапазона 3,25... 4 мм, необходимо:
- отогнуть концы стопорной планки на нажимном диске 10 тормоза, отпустить болты на 5... 6мм и снять планку;
- включить муфту-тормоз (подать в муфту-тормоз сжатый воздух);
- вращая нажимной диск 10 тормоза, переместить его до получения зазораВ=3,25... 4мм с учетом фактического хода А цилиндра 11 при включении муфты-тормоза;
- совместить паз на нажимном диске 10 с пазом на поршне 13;
- вставить в совмещенные пазы стопорную планку и закрепить ее;
- отключить муфту-тормоз (соединить полость пневмокамеры15 с атмосферой через трехходовой сдвоенный сблокированный клапан).
Затем производится замер зазора А между цилиндром 11 и поверхностью накладки диска 6. Если зазор А окажется за пределом диапазона 1 ... 1,75 мм, необходимо:
- отогнуть концы стопорной планки на опорном диске 5, отпустить болты на 5... 6мм и снять планку;
- вращая опорный диск 5, переместить его до получения зазораА=1... 1,75 мм;
- совместить паз на опорном диске 5спазом на ступице 12;
- вставить в совмещенные пазы стопорную планку и закрепить ее.
ХАРАКТЕРНЫЕ НЕИСПРАВНОСТИ НД3318 И МЕТОДЫ ИХ УСТРАНЕНИЯ
|
Возможности неисправности |
Вероятная причина |
Метод устранения |
|
Втулки скольжения шатуна греются, в выступающей смазки находятся частицы бронзы |
Малый зазор между втулкой и эксцентриком. Отсутствует смазка. Засорились смазочные канавки |
Пришабрить втулки. Проверить поступление смазки от насоса. Промыть канавки и смазать втулки. |
|
Тугое скольжение ножевой балки – греются направляющие |
Отсутствует смазка |
Проверить поступление смазки от насоса, при отсутствии смазки разобрать направляющие, пришабрить и смазать их. |
|
Ножевая балка не останавливвается в верхней мертвой точке. |
Неправильно оттарированы пружины в муфте-тормозе или имеются лопнушившие пружины. Большой зазор между тормозным диском и вкладышем (накладкой) в муфте-тормозе. |
Проверить правильность тарировки пружины, лопнувшие пружины заменить.
Отрегулировать зазор.
|
|
Произвольное опускание ножевой балки |
В полость тормоза попало масло.
Разрегулирован тормоз. |
Разобрать и промыть детали тормоза. Отрегулировать тормоз. |
|
При нажатии на кнопку или педаль ножницы невключаются |
Неисправность в электросхеме.
Низкое давление сжатого воздуха в пневмосистеме ножниц. Износ фрикционных вкладышей (накладок) муфты в муфте-тормозе. Прорыв в пневмокамере муфты-тормоза. Не включается электромагнит включающего вентеля трехходового сдвоеного сблокированого клапана. Износ манжет поршня трехходового сдвоеного сблокированого клапана. Плохой контакт в кнопке пуск. |
Зачистить контакты, проверить исправность реле и магнитных пускателей. Повысить давление сжатого воздуха до рабочего значения.
Отрегулировать зазоры или заменить вкладыши (накладки).
Заменить монжеты или поврежденые детали. Устранить неисправности в электромагните или замените его.
Заменить манжеты.
Зачистить контакты.
|
|
Муфта-тормоз нагривается выше допустимой температуры. |
Установлин слишком малый ход цилиндра. |
Установить нормальный ход. |
|
Электродвигатель при пуске не вращается или не достигает полных оборотов. |
Заклинивание ползуна. Обрыв в сети питания или пусковой аппаратуре. |
Установить заклинивание. Устранить обрыв |
ОСОБЕННОСТИ РАЗБОРКИ И СБОРКИ НД3318 ПРИ РЕМОНТЕ
Перед разборкой ножниц необходимо:
- отключить ножницы от электросети;
- отключить подвод сжатого воздуха;
- выпустить сжатый воздух из ресивера;
- отсоединить воздухоподводящий рукав от муфты-тормоза;
- снять ограждения с ножниц;
- вставить пальцы в отверстия ножевой балки и направляющие станины (при необходимости снятия ножей);
- отсоединить уравновешиватель от ножевой балки (при необходимости разборки ножевой балки).
При разборке и сборке отдельных сборочных единиц ножниц следует использовать приведенные в настоящем руководстве описания и иллюстрации.
Схема расположения подшипников НД3318

|
Наименование |
Куда входит |
Позиция на рис |
Кол-во |
|
Подшипник 118 ГОСТ 8338-75 |
Приводной вал |
3,4 |
2 |
|
Подшипник 7613К1 ГОСТ 333-71 |
Приводной вал |
1,2 |
2 |
МЕРЫ БЕЗОПАСНОСТИ
Во время работы ножниц необходимо следить за тем, чтобы ножевая балка останавливалась в крайнем верхнем положении. Это достигается правильной регулировкой положения выступа конечного выключателя, которые управляет работой трехходового сдвоенного сблокированного клапана.
Для удержания ножевой балки в верхнем положении при выполнении ремонтных и наладочных работ ее нужно закрепить. Для этого в ножевой балке, станине и накладках прижимов предусмотрены соосные отверстия для штифтов.
Для выполнения требований техники безопасности на фундаменте делается приямок глубиной не менее 40 мм.
Перед началом работы на ножницах необходимо:
- проверить готовность ножниц к работе;
- проверить наличие смазки в насосе и масла в маслораспылителе и редукторе;
- проверить наличие всех ограждений;
- проверить наличие заземления;
- слить конденсат из влагоотделителя и ресивера;
- проверить наличие рабочего давления сжатого воздуха в пневмосистеме ножниц;
- включить муфту-тормоз (только после набора маховиком полного числа оборотов);
- сделать несколько холостых ходов и убедиться в исправной работе ножниц.
Во время работы на ножницах необходимо:
- производить смазку трущихся поверхностей ножниц согласно карте смазки, прикрепленной к станине ножниц;
- при неисправной работе ножниц выключить злектродвигатель и сообщить о неисправности наладчику или мастеру;
- не допускать затупления ножей.
После окончания работы на ножницах необходимо:
- выключить муфту-тормоз и электродвигатели;
- выключить вводной автоматический выключатель, расположенный на электрошкафу ножниц, запереть его рукоятку на ключ и вынуть ключ из замка;
- произвести уборку рабочего места и смазку сборочных единиц ножниц;
- если во время работы на ножницах произошла неисправность, сообщить о ней своему сменщику.
Не допускается:
- производить осмотр и ремонт электрооборудования при включенном вводном выключателе;
- производить ремонт ножниц при включенном злектродвигателе и вращающемся маховике;
- производить наладку, регулировку, чистку и смазку ножниц на ходу;
- работать на ножницах со снятым ограждением приводов, маховика и воздухораспределителях;,
- совершать технологические операции, выполнение которых связано с превышением силовых и технологических возможностей ножниц;
- работать на неисправных ножницах.
ЭЛЕКТРООБОРУДОВАНИЕ НД3318
На ножницах установлен трехфазный асинхронный электродвигатель АИР113S4 7,5кВт, 1500 об/мин.
Применение схемы управления муфтой в сочетании с дублированием таких элементов, как электропневматические вентили и конечные выключатели. Обеспечивает высокую надежность работы и безопасность обслуживания.
Управление работой ножниц осуществляется спульта управления и панели переключателей. На пульте управления установлены кнопки управления главным приводом и муфтой, выключатель цепи освещения линии реза и кнопки «Общий Стоп».
От силовой цепи питается электродвигатель главного привода. Цепи управления и сигнализации питаются от вторичных обмоток трансформатора TV1. Аппаратура защиты и управления установлена в запираемом электрошкафе.
|
Параметр |
Значение |
|
Род тока питающий сеть |
Переменный |
|
Частота тока, Гц |
50 |
|
Рабочее напряжение, В |
380 |
|
Напряжения цепи управления (ток переменый), В |
24 |
|
Напряжение цепи освещения линии реза, В |
24 |
|
Напряжение цепи сигнализации,В |
24 |
Описание работы электрической схемы
Электросхема предусматривает работу ножниц в режиме: «Одиночный ход», «Непрерывные ходы», «Толчок», «Ручной поворот».
Требуемый режим работы ножниц в соответствии с выбранным органом управления (кнопки или педаль) устанавливаются с помощью переключателя режимов работы SA2 и переключателя управления SA1, расположенных на панели электрошкафа.
Контроль за режимами работы осуществляется с помощью сигнальных ламп, расположенных на панели электрошкафа.
Режим «Одиночный ход»
Переключатель SА2 устанавливается в положение «Включено», а SA1 – в положение кнопкой или педалью. В режиме „Одиночный ход" предусмотрено как кнопочное управление (кнопка SВ3), так и управление педалью (педаль SВ5).
Кнопочное управление. Переключатель SА1 устанавливается в положение «Кнопки». Нажатием кнопки SВ3производится включение муфты (YA1). В конце хода ножевой балки колесик конечного выключателя нажимается, и муфта отключается.
Для осуществления последующего хода ножевой балки необходимо отпустить и повторно нажать кнопку SВ3.
Управление педалью. Переключатель SА1 устанавливается в положение «Педаль».
Нажатием педали SB6 производится включение муфты. Электросхема работает так же, как и при кнопочном управлении.
Режим «Непрерывный ход»
В режиме «Непрерывный ход» предусмотрено только кнопочное управление. Ножницы включаются с помощью кнопок и работают длительный период времени. Отключение ножниц производится нажатием кнопки SB4 «Стоп непрерывных ходов». Ножевая балка при этом останавливается в верхнем положении.
При работе в режиме «Непрерывный ход» переключательSA1 устанавливается в положение «Непрерывный ход». Нажатием кнопки SВ2производится пуск электродвигателя, нажатием кнопки SB3 — включение муфты. Ножевая балка автоматически совершает ходы. Срабатыва-ние конечного выключателя в конце каждого хода ножевой балки не будет оказывать влияния на работу электросхемы.
Отключение муфты производится нажатием кнопки SB4 происходит в момент срабаты-вания конечного выключателя (в конце хода ножевой балки).
Кнопку SВ4необходимо нажимать до тех пор, пока конечный выключатель не сработает и ножевая балка не остановится.
Режим «Толчок»
В режиме «Толчок» предусмотрено только кнопочное управление. Время работы ножниц определяется временем нажатия кнопки SВ3.
При работе в режиме «Толчок» переключатель SА2 устанавливается в положение «Толчок», а переключатель SА1—в положение «Кнопки». Нажатием кнопки SВ2производится пуск электродвигателя. С помощью кнопки SВ3производится включение и отключение муфты.
Продолжительность включения муфты определяется временем нажатия кнопки SВ3.Бла-
годаряэтому ножевая балка может быть остановлена в нужном положении.
Режим «Ручной проворот»
При переходе на данный режим работы необходимо убедиться в полной остановке маховика. Переключатель SA2 устанавливается в положение «Ручной проворот». Производится включение муфты при отключенном электродвигателе привода. Отключение муфты осуществляется поворотом переключателя SA2, в любое другое положение.
Защита
Защита электрооборудования от токов короткого замыкания осуществляется автоматическим выключателем FQ1 и предохранителями QF6 … QF8.
Защита электродвигателя от перегрузки осуществляется тепловым реле РТ1.
Указание мер безопасности НД3318
Электрооборудование ножниц должно быть надежно заземлено путем присоеденения станины ножниц и электрошкафа к цеховому контору заземления.
Пред началом работы на ножницах и после каждого переключения необходимо проверять положения переключателя режимов работы SA2 и переключателя управления SA1 по соответствующим сигнальным лампам.
При переходе на режим работы «Ручной проворот» следует убедится в полной остановки маховика.
срочно куплю гильотинные ножницы НД3318Г, гелиотины пневмомеханическая НД3318Г схема электрическая принципиальная НД3318Г цена НГ 3318А габаритные размеры. НД3318Г ножницы гильотинные, куплю Виленкина н д 3318 станок Новосибирск гильотина нд3318г 79г схема вд3318г. олх ножницы кривошипные нд3318, гильотина нд 3318г нОЖИ НА ГИЛЬОТИНУ НД 3318г 62 НОЖНИЦЫ КРИВОШИПНЫЕ ЛИСТОВЫЕ НД3318. тех описание ножницы НД3318, Мод.НД 3318Г НД3318Г Тех паспорт гильотина нд 3318 г скачать. НД3318Г - гильотина характеристика, ножницы гильотина 6мм 3318Г гильотина нд3318г документация Ножницы листовые Н-3318. НД3318 характеристики, нд3318характеристика фото гильотина НД3318Г тех характеристика марка двигателя обороты нд3318 стоимость ножей. НД3318Г - ножницы кривошипные листовые с наклонным ножом, нд 3318 техномаш Ножницы кривошипные, листовые НД-3318Г цена пресс ножницы нд 3318. поломка НД 3318Г, ножницы н 3318 фото устройство гильотины нд3118 Ножницы НД 3318Г. ножи на гильотину н3318, ножницы листовые мод. НД3318Г гильотина нд3318г схема ножницы кривошипные листовые с наклонным ножом нд3318г паспорт. ножницы гильотинные с наклонным ножом нд 3318, Ножницы кривошипные листовые с наклонным ножом НД 3316 паспорт НД3318Г гильотина yl 3318 u. Ножницы кривошпильные НД-3318Г, чертеж ножей к ножницам н3318 паспорт НД3318 ножницы кривошипные листовые с наклонным ножом нд3318г. гильотина 3318 паспорт, нд 3318г ремонт технические характеристики гильотина нд3318г ножниці нд3318г. гильотина нд 3318 технические характеристики, НОЖНИЦЫ КРИВОШИПНЫЕ ЛИСТОВЫЕ МОД. НД 3318 Гильотину НД3318 Гильотина пневматическая mg 3318 рубка металла 6.3 мм длина металла 2 м. гильотина НА 3318 паспорт, Гильотинные ножницы НД3318Г гильотина нд3318 паспорт Нд 3318Г. ножницы н3318 внешний вид, электросхема гильотина нд3318 скачать паспорт гильотина нд3318г Кривошипные гильотинные ножницы НД3318. ремонт и з ч на ножницы гильотинные Нд 3318 6,3, 2000 продажа б у, Ножницы гильотинные НД-3318Г б/у ножницы НД3318Г вес тех.паспорт на НД3318Г. ножницы гильотинные нд 3318Г купить б/у, нд3318 завод изготовитель гельотина модель НД - 33 -18. ножницы гильотинные нд 3318 схема электрическая. паспорт ножниц нд 3318, https://yandex.ru/clck/jsredir?from=yandex.ru%3bsearch%3bweb%3b%3b&text=&etext=1828.emu0tbhitozzp7phbbmn-k8makvzsu03_qdc0wddlrjqcvzjvezq_s0xmxsof6mt.5fe4ec55916acbbcc9d37018b7b3a66915e4bf7a&uuid=&state=_blhiln4sxnivvl0w45ksic66ucig23qh8irg98qeixmeppkguc0ymivjntowdta6ctl47tpu5i&data=ulnrnmk5wktyejr0ewjfyk1ldmtxbzdcuetmtfj1s3dbaw0yqnjouhhrnenhrzewdljvvw04ywnsri1savzenvu3vdllwjh1ntvsavlsdxdjdnzvre1kzljxu2m4zzd4vdjtwnjvy2e0albrqud0bw05rxrlby1jtdhrm2pictlezvfcmxo1r1dhmdr4utrzdvn4ylh6wet1tvozukq0r2toa3pfoeflzxrfclmtymxszvdtt2pjzzrhy0r2nnpptujtmlfqrthurkflv2han2jjukjunzflx3g1qkf4rzk2qvlnngvuq25umeziuwppwvvtvhdwa0tdclrowgf0smhrzzi3umvfakxr&b64e=2&sign=9b01416fd5647a83a264b493a47e6343&keyno=0&cst=aiuy0dbwfj7ixge4wdyjqyuwsqlovbttslfeuccjzydtyyeqostlndlt76c2ykoya4nbddb5a38kjagijeqm7ut0xneh_ht9cwfqsk3gk9hrg7ycaoc0hsdk9iwlsa5ndaqaahqarjzl8luh1nmncxp_9nm1_pil&ref=orjy4mgprjk5bodnw0uvlrrd71vzw9kp5uqozpmtkcwdro5jy5gjvrojebgt3inhntphpqxq7uazswihqr6qydajjgmdbiludfnrur61y3jtime1bbqja2ogfoueqcec&l10n=ru&cts=1529797827322&mc=2.54738854097 ножницы 3318г характеристики hД 3318Г pasport xarakteristika. ножницы гелеотиновые нд3318 6.3 2000 бу фото, ножницы НД 3318 гильотина пневмомеханическая нд3318 Паспорт на кривошипные листовые ножницы с резом листа 6,3 мм. пресс-ножницы 3318 паспорт, купить ножницы гильотинные нд3318 ножницы кривошипные нд3318г сколько стоит нд3318. характеристики нд-3318Г, Ножницы кривошипные листовые НД 3318Г купить
По Техническому Заданию заказчика ножницы НД3318 могут изготавливаться с шириной стола до 3150 мм, толщиной резки до 20 мм, при этом могут измениться габаритные размеры и масса ножниц. Подробное ТКП можно получить после предоставления Технического Задания. Технические изменения, существенно не влияющие на характеристики ножниц, завод-изготовитель оставляет за собой.
Стандартная комплектация НД3318
- Ножницы пневматические в сборе с пультом управления;
- Светодиодная линия освещения рабочей зоны;
- Выносная педаль управления;
- Боковой упор для резки под прямым углом;
- Заднее ограждение для сбора заготовок;
- Комплект ЗИП
Дополнительные опции НД3318
- Передние удлинители стола;
- Шариковые опоры для облегчения перемещения листа;
- Лазерный указатель линии реза;
- Резиновые накладки для уменьшения деформации листа при резке;
- Электромеханический задний упор с УЦИ
- Устройство обдува стола;
- Рольганг приводной, неприводной
- Тележка откатная приводная, неприводная
ПромСтройМаш является непосредственным производителем НД3318 Мы производим и продаём Ножницы гильотинные кривошипные НД3318 во все регионы РФ и страны ближнего зарубежья, такие как Беларусь, Казахстан. НД3318 нашего производства хорошо зарекомендовали себя в Москве, Ярославле, Нижнем Новгороде, Екатеринбурге, Новосибирске и других городах России. Купить НД3318 вы можете непосредственно у нас или у наших дилеров. Ширина/Толщина разрезаемых листов, мм 2000/6.3
