Запросить
коммерческое предложение
коммерческое предложение
Нужна консультация?
Закажите обратный звонок
Мы свяжемся с Вами в ближайшее время
Мы свяжемся с Вами в ближайшее время
Остались вопросы?
Свяжитесь с нами удобным способом
Назначение
Характеристики
Описание
Комплектация
Назначение настольно-сверлильного станка 2М125
Станок 2М125 предназначен
следующих операций в черных и цветных металлах:
- сверление,
- зенкерование,
- расточка отверстий.
Широко при меняется в приборостроении, механической обработке в промышленности, в ремонтных мастерских и т.д. при эксплуатации в закрытых помещениях с температурой от 10 до 35⁰С и относительной влажностью не более 80%.
Данный станок предназначен только для сверления и нарезания резьбы в черных и цветных металлах и их сплавах.
Обработка других материалов не разрешена, но в особых случаях может осуществляться только после консультации с производителем.
Базовое климатическое исполнение УХЛ категория размещения 4 по ГОСТ 15150.
Вертикально-сверлильный станок 2М125 производится в России на Заводе ПромСтройМаш и поставляется во все регионы РФ и страны ближнего зарубежья.
Технические характеристики 2М125
| Макс. диаметр сверления в стали 45 ГОСТ 1050-88, мм | 25 |
| Диаметр нарезаемой резьбы, мм | 12 |
| Вылет шпинделя (расстояние от оси шпинделя до направляющей колонны), мм | 245 |
| Размер конуса шпинделя внутренний по ГОСТ 9953-82 | Морзе 3 |
| Цена деления лимба, мм | 1 |
| Наибольшее перемещение шпинделя, мм | 120 |
| Расстояние от торца шпинделя до рабочей поверхности стола/основания, мм | 300/600 |
| Размеры рабочей поверхности стола, мм | 370х370 |
| Количество Т-образных пазов стола | 2 |
| Размеры основания, мм | 510х330 |
| Количество Т-образных пазов основания | 2 |
| Число скоростей шпинделя | 12 |
| Пределы частот вращения шпинделя, мин-1: | 70…3000 |
| Напряжение питания, В | 380 |
| Мощность электродвигателя, кВт | 1,1 |
| Габаритные размеры (не более), мм | 600х460х1460 |
| Масса, кг | 200 |
УСТРОЙСТВО И РАБОТА НАСТОЛЬНО-СВЕРЛИЛЬНОГО СТАНКА 2М125
Станок вертикально-сверлильный с подъемным откидным столом модели 2М125 предназначен для выполнения всех видов сверлильных работ: сверления, рассверливания, зенкерования, развертывания.
Реверсирование электродвигателя главного движения позволяет производить на станках нарезание резьбы машинными метчиками.
Обработка производится быстрорежущим и твердосплавным инструментом в деталях из различных конструкционных материалов и из неметаллических материалов.
Станок используется для работы в условиях мелкосерийного и серийного производств, в ремонтных мастерских, цехах малых предприятий, при индивидуальной трудовой деятельности.
Вид климатического исполнения - УХЛ4 или ТЗ по ГОСТ 15150-69.

Габариты рабочего пространства настольно-сверлильного станка 2М125
Установочные и присоединительные размеры
Эскиз Т-образных пазов

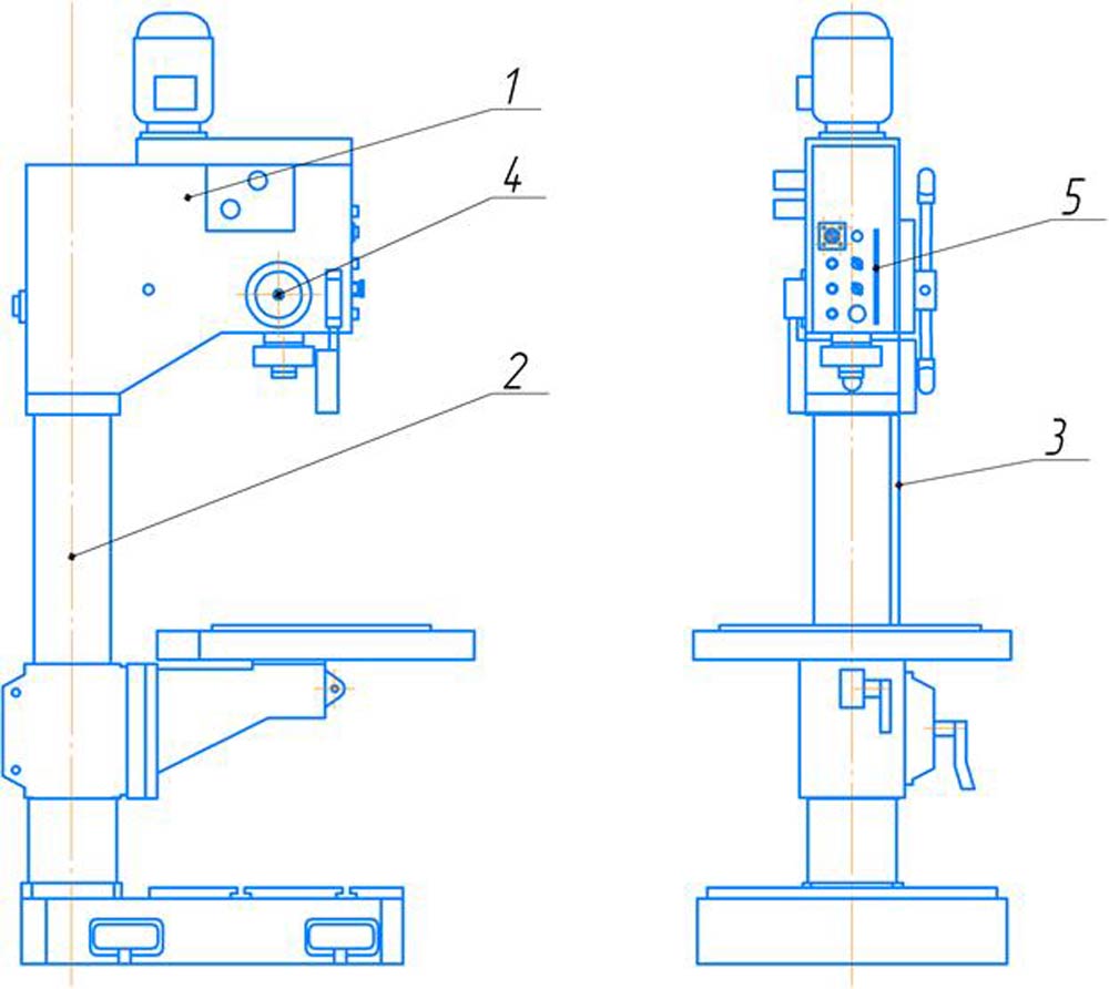
Устройство и работа станка настольно-сверлильного станка 2М125
Расположение составных частей станка

1. Основание; 2. Подъемный стол; 3. Шпиндель; 4. Сверлильная головка; 5. Коробка подач; 6. Электрооборудование.
Основание настольно-сверлильного станка 2М125
Основание включает в себя круглую колонну. Круглая колонна представляет собой полую трубу, по которой вертикально перемещается и вращается вокруг нее прямоугольный стол. Сама колонна с помощью напрессованного снизу фланца устанавливается на обработанную плиту. Вертикальное перемещение стола на круглой колонне осуществляется червячно-peeчной передачей.
Стол настольно-сверлильного станка 2М125

Предназначен для закрепления на нем обрабатываемых деталей или оснастки (тисы и пр.) Для этого стол имеет два т-образных паза, расположенных по диагонали стола.
Для подъема или опускания стола необходимо ослабить крепления, удерживающие стол и с помощью рычага 4 (с тыльной части станка) приподнять или опустить стол.
Для сверления заготовок под определенным углом, на станке предусмотрен наклон стола в диапазоне ±45º.Для наклона стола необходимо ослабить два винта 3 повернуть стол на необходимый угол и зафиксировать винтами 3.
Для перемещения стола во круг своей ост, необходимо ослабить рычаг 1, повернуть стол на нужную величину.
Шпиндель
Шпиндель установлен на радиальных и упорных подшипниках. Все подшипники расположены в пиноли, которая с помощью реечной пары перемещается вдоль оси. Регулировка зазоров в подшипниках производится гайкой.
Перемещение шпинделя контролируется по указателю 2, настройка на определенную глубину сверления осуществляется перемещением указателя 1 по скалке с помощью винта.
Механизм настройки глубины сверления

Для сверлильных станков 2М125 настройка глубины сверления производится в ручную с помощью лимба.
Механизм настройки глубины сверления предназначен для выполнения следующих операций:
- включение реверса при нарезании резьбы;
- задание определенной глубины резания;
- ограничение ручной подачи.
Принцип работы механизма переключения подачи заключается в следующем: вращением маховика 1 выставляем указатель 2 на нужную глубину обработки (сверление, резьбонарезание, пр.), ориентируясь на шкалу 3. При включении нарезания резьбы или ручной подачи, при достижении заданной глубины обработки (указатель 2 совподет с точкой «0» на шкале 3), при нарезании резьбы включится реверсивное вращение, при ручной подаче шпиндель прекратит движение.
Головка сверлильная настольно-сверлильного станка 2М125
Сверлильная головка представляет собой чугунную отливку коробчатой формы, в которой смонтирован шпиндель станка, механизм перемещения шпинделя, коробка скоростей, коробка подач.
Подача шпинделя осуществляется от коробки подач или вручную штурвалом 4 рис 7.
В верхней части корпуса сверлильной головки находится электродвигатель. Переключение скоростей и подач производится рукояткам вручную.
Коробка подач настольно-сверлильного станка 2М125
Коробка подач смонтирована в отдельном корпусе и устанавливается в сверлильной головке. Перемещение двух двойных блоков шестерен осуществляет две подачи шпинделя.
Защитное ограждение
Станок оснащен защитным ограждением инструмента.
Перед нажатием кнопки запуска установите ограждение в рабочее положение, в противном случае станок не запустится. Если ограждение открыть в ходе работы станка, станок остановится. Наличие защитного ограждения не дает права работать без защитных очков.
Органы управления настольно-сверлильного станка 2М125
Изображение станка с обозначением основных органов управления

Перечень органов управления настольно-сверлильного станка 2М125
|
№ |
Назначение |
№ |
Назначение |
|
1 |
Электродвигатель |
12 |
Пуск шпинделя (вправо) |
|
2 |
Таблица скоростей |
13 |
Пуск шпинделя (влево) |
|
3 |
Рукоятки выбора скорости |
14 |
Стоп шпинделя |
|
4 |
Штурвал подачи |
15 |
Индикатор питания |
|
5 |
Указатель уровня масла |
16 |
Переключатель режимов: Сверление / Нарезание резьбы |
|
6 |
Место спиральной пружины |
||
|
7 |
Фиксатор регулировки глубины сверления |
17 |
Переключатель освещения |
|
18 |
Кнопка Аварийной остановки |
||
|
8 |
Лампа освещения |
19 |
Линейка подачи |
|
9 |
Колонна |
20 |
Рук. фиксации наклона стола |
|
10 |
Защитное ограждение |
21 |
Рук. подъема стола |
|
11 |
Переключатель скорости вращения электродвигателя |
22 |
Рук. фиксации поворота стола |
|
23 |
Шкала наклона стола |
ПОРЯДОК УСТАНОВКИ НАСТОЛЬНО-СВЕРЛИЛЬНОГО СТАНКА 2М125
Распаковка настольно-сверлильного станка 2М125
При распаковке станка сначала снимают верхний щит упаковочного ящика, а затем боковые.
Необходимо следить за тем, чтобы не повредить станок применяемым
распаковочным инструментом.
Транспортирование настольно-сверлильного станка 2М125

Транспортирование распакованного станка производится с помощью грузоподъемных механизмов соответствующей грузоподъемности, максимальная масса станка не более 200 кг.
Зачаливание производится за стальной прут диаметром не менее 30 мм, проходящий через специальные отверстия находящуюся внутри в верхней части колонны. При установке и опускании на фундамент станок не должен подвергаться сильным толчкам.
Снятие антикоррозийных покрытий
После установки станок необходимо тщательно очистить от антикоррозийных покрытий, нанесенных на открытые, а также закрытые кожухами или щитками, обработанные и необработанные поверхности станка. Очистка производится деревянной лопаточкой, а затем ветошью, смоченной бензином Б-70 ГОСТ 511-82. Затем, во избежание коррозии, все обработанные поверхности покрыть тонким слоем индустриального масла И-20А ГОСТ 20799-75. Применение для чистки станка металлических предметов или наждачной бумаги не допускается.
Монтаж настольно-сверлильного станка 2М125
Установка и выверка станка на фундаменте являются одной из наиболее ответственных операций, от которых зависит правильность монтажа всего станка и, следовательно, точность выполняемых на нем работ.
Схема установки станка

Станок устанавливается на фундаменте и, при необходимости, крепится к нему четырьмя болтами M 12 по ГОСТ 24379.1-2012.
Точность работы станка зависит от правильности его установки. После установки на фундаменте, станок выверяется в продольном и поперечном направлениях с помощью уровня. Отклонение плоскости стола от горизонтального положения не должно превышать 0,04 мм на 1000 мм в обоих направлениях.
ПОДГОТОВКА К ПЕРВОНАЧАЛЬНОМУ ПУСКУ
- Перед пуском станка необходимо залить масло в резервуар сверлильной головки в по уровню.
- Затем надо заземлить станок и подключить его к электросети, предварительно проверив соответствие напряжения сети напряжению электрооборудования станка.
- Выполнить указания, относящиеся к пуску и изложенные в разделе "Система смазки", а также в приложении к руководству "Электрооборудование станка".
- Ознакомившись с рукоятками управления, следует проверить вручную работу всех механизмов станка.
- После подключения станка к сети необходимо опробовать станок на холостом ходу на самых малых оборотах шпинделя, опробовать включение всех скоростей, начиная с самых малых.
- Если при переключении скоростей шпинделя движение рукоятки испытывает препятствие, не следует увеличивать усилие на рукоятку, нужно провернуть зубчатые колеса при помощи вращения шпинделя вручную.
ВНИМАНИЕ! ПЕРЕКЛЮЧЕНИЕ СКОРОСТЕЙ ШПИНДЕЛЯ НА ХОДУ ЗАПРЕЩАЕТСЯ! - Убедившись в нормальной работе всех механизмов станка, можно приступить к его настройке для работы.
ПОРЯДОК РАБОТЫ НАСТОЛЬНО-СВЕРЛИЛЬНОГО СТАНКА 2М125
Наладка настольно-сверлильного станка 2М125
Наладка станка на работу заключается в установке стола в необходимое для работы положение, в его зажиме, в установке необходимых частот вращения шпинделя.
Установка и крепление инструмента
Качество инструмента и оправок во многом определяет спокойную работу станка, точность и чистоту обработки.
Для удаления инструмента из шпинделя, выполнить следующие операции:
- Немного опустить шпиндель с барабанов и ввести упорную планку из паза.
- Поднять шпиндель до упора, при этом придерживать инструмент рукой во избежание его падения на стол.
Существует еще способ для выбивки инструмента, необходимо опустить пиноль, совместить паз шпинделя с пазом пиноли и клином выбить инструмент.
Установка и крепление заготовки настольно-сверлильного станка 2М125
Крепление заготовки (оснастки) на станке, влияет на качество обработки и безопасность.
Перед работой убедится в надежности крепления оснастки, заготовки. Запрещено обрабатывать детали «навесу».
Изменение оборотов и подачи шпинделя.
Для смены оборотов шпинделя необходимо остановить станок, с помощью рукояток выставить нужную скорость включить станок.
Ручная подача
Для осуществления операции сверления, зенкования и других работ, необходимо вращать рукоятку штурвала на необходимое расстояние, до полного выполнения нужной операции. Затем вернуть ее в исходное положение.
Нарезание резьбы
Для включения функции нарезания резьбы необходимо выполнить следующие действия:
- выключить двигатель
- переключить станок в режим резьбонарезания (на панели управления)
- установить требуемую глубину нарезания резьбы (ВАЖНО: необходимо учитывать, что резьбонарезной инструмент должен иметь выход для стружки, поэтому глубина отверстия должна быть больше глубины резьбы минимум на 10 мм).
- установить скорость вращения шпинделя
- вручную осуществить заход инструмента в заготовку, после захода инструмента в заготовку не прилагать усилий на шпиндель.
По достижении заданной глубины резьбонарезания контрольный микровыключатель выключится и сработает реверс, метчик выйдет из заготовки.
Защитный экран
Станок оснащен защитным устройством. Перед включением станка необходимо установить защитное устройство сверла в рабочее положение, в противном случае станок не запустится, при открытии защитного устройства во время работы станка станок остановится.
СИСТЕМА СМАЗКИ НАСТОЛЬНО-СВЕРЛИЛЬНОГО СТАНКА 2М125
Смазка станков обеспечивается следующими системами:
- набивкой;
- разбрызгиванием
- смазка при помощи масленки
Станок поставляется без масла в коробке скоростей. Для заполнения коробки скоростей маслом, необходимо выполнить следующее:
Открутить верхнею заглушку, залить масло с помощью воронки до середины маслоуказателя. Не заливать масло выше уровня, т.к масло начнет выливаться из станка.
Перед работой необходимо проверять уровень масла, работа станка с уровнем масла ниже видимого минимума запрещена.
ВНИМАНИЕ! При отсутствии масла в контрольном глазке, немедленно остановите станок!
Смену масла рекомендуется производить первый раз после 10 дней работы, второй раз после 20 дней работы, а затем не реже 1 раза в месяц.
Карта смазки настольно-сверлильного станка 2М125

|
№ |
Объект |
Материал |
Способ |
Периодичность |
Расход |
|
1 |
Коробка скоростей |
Масло И-20А |
Разбрызгивание |
Автоматически |
долив по уровню |
|
2 |
Направляющая колонна |
ЦИАТИМ-203 |
Индивидуально |
1 раз в смену |
0,01 кг |
|
3 |
Рейка зубчатая |
0,01 кг |
|||
|
4 |
Вал пиноли |
Масло И-20А |
Шприцевание |
0,05 см3 |
|
|
5 |
Винт указателя, червяк коробки подач |
ЦИАТИМ-203 |
Индивидуально |
0,01 кг |
Перечень применяемых смазочных материалов:
Масло: Индустриальное И-20А ГОСТ 20799-75
Смазка: Консистентная ЦИАТИМ-203 ГОСТ 8773-73
УКАЗАНИЯ ПО ЭКСПЛУАТАЦИИ И РЕМОНТУ НАСТОЛЬНО-СВЕРЛИЛЬНОГО СТАНКА 2М125
Рекомендации по восстановлению работоспособности станка составлены в соответствии с принятой "Единой системой планово-предупредительного ремонта и рациональной эксплуатации технологического оборудования машиностроительных предприятий" (изд. Машиностроение, 1967) и ГОСТ 18322-78.
При эксплуатации станка в соответствии с требованиями и рекомендациями, изложенными в предшествующих разделах и соблюдении профилактических мероприятий настоящего раздела, его межремонтный цикл (срок службы до первого капитального ремонта) равен 5 годам при двухсменной работе. За период межремонтного цикла станок должен быть подвергнут шести осмотрам, четырем текущим ремонтам и одному среднему в сроки, указанные в рекомендуемом графике плановых ремонтных работ:
Схема ТО настольно-сверлильного станка 2М125
Следует учитывать, что наибольшую эффективность использования станка могут обеспечить рациональное чередование и периодичность осмотров и плановых ремонтов с учетом условий эксплуатации.
Типовые ремонтные работы, выполняемые при плановых ремонтах
Осмотр
Наружный осмотр производится для выявления дефектов станка в целом и по узлам без его разборки.
Осмотр перед капитальным ремонтом
При осмотрах перед другими видами ремонтов выявляются детали, требующие восстановления или замены. Эскизируются или заказываются чертежи изношенных деталей из узлов, подвергающихся разборке.
ПРИМЕЧАНИЕ: при проведении осмотра выполняются те из перечисленных работ, необходимость в которых обусловлена состоянием станка.
Текущий ремонт
Производят частичную разборку сверлильной головки, коробки скоростей. Открывают крышку и снимают кожухи для внутреннего осмотра и промывки, заменяют или восстанавливают отдельные части, восстанавливают работоспособность станка.
Проводят проверку на точность перед разборкой, частичную разборку, измерение износа трущихся поверхностей перед ремонтом базовых деталей, испытание под нагрузкой.
Капитальный ремонт настольно-сверлильного станка 2М125
Проводят: проверку станка на точность перед разборкой, измерение износа трущихся поверхностей перед ремонтом базовых деталей, полную разборку всех узлов станка, замену или восстановление изношенных деталей, шпаклевку и окраску всех необработанных поверхностей по ТУ для нового оборудования. При разборке узлов станка следует руководствоваться сборочными чертежами.
ПРИМЕЧАНИЕ после сборки станок обкатывают на холостом ходу и производят проверку на шум и на нагрев подшипников.
Дополнительные требования, предъявляемые к эксплуатации, техническому уходу и ремонту станка
Для регулировки упорного подшипника шпинделя необходимо:
- снять панель с лицевой части сверлильной головки;
- шпиндель установить так, чтобы винт гайки был совмещен с отверстием на лицевой части сверлильной головки;
- отпустить стопорный винт и, продолжая вращать шпиндель вручную, совместить цилиндрическое отверстие в гайке с отверстием сверлильной головки;
- вставив, в цилиндрическое отверстие гайки, цилиндрический стержень, провернуть шпиндель против часовой стрелки до ликвидации осевого люфта и завернуть стопорный винт гайки.
Для подтяжки пружины противовеса необходимо снять крышку на подмоторной плите и поворотом гайки подтянуть пружину.
Регулировка зажима стола осуществляется рукояткой зажима
Для подтяжки пружин в вилках переключения скоростей, необходимо снять боковые крышки на сверлильной головке, отвернуть пробки под рукоятками переключения скоростей и отверткой подтянуть стопорные винты, прижимающие пружины.
Поддержание станка в работоспособном состоянии обеспечивается своевременно проводимыми профилактическими мероприятиями (см. п. 13.2).
ОСОБЕННОСТИ РАЗБОРКИ И СБОРКИ ПРИ РЕМОНТЕ НАСТОЛЬНО-СВЕРЛИЛЬНОГО СТАНКА 2М125
До разборки станка следует ознакомиться с его устройством, назначением и способом крепления узлов и деталей.
Для предохранения станка от самовключений или случайного включения необходимо отключить вводной выключатель и запереть его на ключ.
При ремонте электрической части станка необходимо обесточить в цеховом распределительном шкафу сети, питающей электрооборудование станка.
Во всех случаях при ремонте необходимо вывесить предупреждающую таблицу "Не включать, ремонт!"
Разборку станка необходимо проводить последовательно, следить за тем, чтобы не упали детали, сопрягаемые с открепляемой деталью.
Демонтаж и монтаж электрооборудования должен производиться слесарем-электриком имеющим допуск не ниже 3 группы по эл. безопастности.
При разборке и сборке крупных узлов (свыше 20 кг) необходимо пользоваться подъемными механизмами.
Прежде чем приступить к разборке станка, необходимо перед снятием коробки скоростей слить масло из резервуара сверлильной головки.
Перед снятием узлов со станка необходимо отсоединить электропроводку.
При разборке станка следует пользоваться имеющимися в руководстве чертежами.
Перед пуском отремонтированного станка в работу следует:
- удалить со станка посторонние предметы и детали;
- проверить, нет ли заеданий, стука, подозрительных шумов.
Пробный пуск отремонтированного станка производить только при подключенном заземлении.
Подключение станка к сети при первом пуске после ремонта должно производиться электриками.
Ремонт станков на заводе-потребителе должен осуществляться в соответствии с "Единой системой планово-предупредительного ремонта и рациональной эксплуатации технологического оборудования машиностроительных предприятий".
После сборки при ремонте станка необходимо соблюдать условия, которые влияют на точность работы станка.
При монтаже должны выполняться все требования ГОСТ 7599-88Е, раздел 4.
ХРАНЕНИЕ И ТРАНСПОРТИРОВАНИЕ НАСТОЛЬНО-СВЕРЛИЛЬНОГО СТАНКА 2М125
Хранение настольно-сверлильного станка 2М125
Условия хранения станка по ГОСТ 15150-69:
- для внутренних поставок - 5;
- для экспортных поставок - 3.
Для внутренних поставок хранение под навесами и в помещениях, где колебания температуры и влажности воздуха существенно не отличаются от колебаний на открытом воздухе, расположенных в микроклиматических районах с умеренным и холодным климатом в атмосфере любых типов.
Климатические факторы: температура воздуха - +50°С. Среднемесячное значение относительной влажности воздуха в наиболее теплый и влажный период 80%, при 15°С продолжительностью 6 мес. Верхнее значение относительной влажности - 100% при 25°С
Для экспортных поставок - закрытые или другие помещения с естественной вентиляцией без искусственно регулируемых климатических условий, где колебания температуры и влажности воздуха существенно меньше, чем на открытом воздухе, расположенные в любых микроклиматических районах, в том числе в районах с тропическим климатом.
Климатические факторы: температура воздуха - +50°С. Среднемесячное значение относительной влажности воздуха в наиболее теплый и влажный период 70% при 27°С, верхнее значение относительной влажности - 98% при 35°С.
Консервация настольно-сверлильного станка 2М125
Для обеспечения сохранности требуется хорошо выполненная внутренняя упаковка - противокоррозионная защита. Консервация и расконсервация осуществляется в соответствии с ГОСТ 9.014-78 и ОСТ2 Н89-30-79.
Консервация станка должна соответствовать группе 11-1; инструмента сменных и запасных частей - группе 1-2.
Вариант временной защиты: ВЗ-1.
Вариант внутренней упаковки:
- для внутренних поставок - ВУ-1;
- для поставок на экспорт - ВУ-5.
Гарантийный срок защиты без переконсервации - 1 год. Расконсервация производится маловязкими маслами или растворителями с последующим протиранием насухо.
Маркировка
Маркировка станка производится на фирменной таблице согласно ОСТ2 Д91-1 -81 и ОСТ2Д91-2-75.
Транспортная маркировка наносится на каждое грузовое место непосредственно на тару окраской по трафарету на светлом фоне по ГОСТ 14192-77.
Для станков, поставляемых на экспорт, содержание и расположение маркировки на таре выполняется в соответствии с ГОСТ 14192-77 и требованиями заказ.
Транспортирование настольно-сверлильного станка 2М125
Выбор транспортной упаковки и условий транспортирования осуществляется в соответствии с ГОСТ 7599-82Е и ОСТ2 Н92-1-81. Транспортирование станков осуществляется:
- без тары автомобильным транспортом без перегрузок в пути следования при условии защиты от осадков;
- в ящиках по ГОСТ 10198-78 типов II-1 или 1V-1.
При поставках на крайний Север и в труднодоступные районы, а также при смешанном сообщении с использованием морских перевозов упаковка должна соответствовать требованиям ГОСТ 15840-79.
Принадлежности и запасные части, прилагаемые к станку, упаковываются в отдельные ящики типов 1,II-1 по ГОСТ 2991 -85, для экспорта в ящики, выполненные по ГОСТ 24634-8 IE.
Документация, прилагаемая к станку, упаковывается в пакет из полиэтиленовой пленки и укладывается в ящик для документов.
При поставке на экспорт один экземпляр упаковочного листа должен быть помещен в специальный наружный карман упаковки станка.
ЭЛЕКТРООБОРУДОВАНИЕ НАСТОЛЬНО-СВЕРЛИЛЬНОГО СТАНКА 2М125
Электрооборудование состоит из двухскоростного электродвигателя, осуществляющего вращение приводного вала, вводного включателя HK, осуществляющего включение/выключение станка, трансформатора, двух пускателей KM1 и КМ2, управляющих вращением двигателя по часовой стрелке или против часовой стрелки, органов управления: кнопок, переключателей и сигнальной лампы.
Краткая характеристика электрооборудования настольно-сверлильного станка 2М125
|
Основные параметры |
Значение |
|
Род тока питающей сети Частота тока, ГЦ Напряжение, В |
переменный, трехфазный 50 380 |
|
Электродвигатель привода главного движения: Тип Номинальная мощность, кВт Номинальная частота вращения, мин—1 |
Двухскоростной АДМ71А4/2 0,75/1,1 1410/2730 |
Пульт управления настольно-сверлильного станка 2М125

Перечень элементов схемы электрической
|
Обозначение |
Название |
Модель |
Кол-во |
|
HK |
Главный выключатель |
JCH13-20/3 |
1 |
|
FU1 |
Автоматический выключатель |
DZ47-63 |
1 |
|
KM1, KM22 |
Контактор 24V |
3TB41-22 |
1 |
|
TC |
Трансформатор 380-24V |
JBK5-63 |
1 |
|
SQ1 |
Микропереключатель |
LXW16-16/1C2 |
1 |
|
SQ2 |
Микропереключатель |
LXW16-16/1C2 |
1 |
|
HL |
Лампа местного освещения 24 В, 35 Вт |
SC-108E |
1 |
|
SL |
Индикаторная лампа питания 24V |
AD17-16 |
1 |
|
SB1 |
Кнопка «Общий стоп» грибовидная, красная |
YO90-01M |
1 |
|
SB2 |
Кнопка «Пуск» Шпинделя Влево |
YO90-22 |
1 |
|
SB3 |
Кнопка «Пуск» Шпинделя Вправо |
YO90-22 |
1 |
|
SB5 |
Кнопка «Стоп» Шпинделя |
YO90-22 |
1 |
|
SA1 |
Переключатель: «Сверление / Резьбонарезание» |
YO90-20XB/2 |
1 |
|
HZ |
Переключатель скоростей (2 положения) |
3LBB-20 |
1 |
|
SA3 |
Переключатель освещения |
YO90-20XB/2 |
1 |
|
M1 |
Главный двигатель |
АДМ71А4/2 |
1 |
Схема электрическая настольно-сверлильного станка 2М125

Эксплуатация настольно-сверлильного станка 2М125
Включение станка в работу
После подключения к сети трехфазного напряжения включить HK, на панели управления загорится сигнальная лампа SL.
Выбор направления, Пуск и остановка вращения шпинделя
Пуск вращения шпинделя осуществляется кнопками SB2 и SB3, влево и вправо соответственно. Остановка вращения осуществляется кнопкой “СТОП” SB5.
Выбор скорости вращения шпинделя
Для выбора числа оборотов двигателя необходимо воспользоваться переключателем HZ.
Освещение зоны резания
Для включения местного освещения необходимо перевести переключатель SA3 в правое положение.
Нарезание резьбы
Для перехода в режим нарезания резьбы необходимо перевести переключатель SA1 в правое положение. Если переключатель SА1 находится в левом положении, то выполняется операция сверления.
Аварийная остановка
В случае возникновения необходимости аварийной остановки при работе нажмите кнопку «аварийной остановки» SB1, что приведёт к отключению подачи электроэнергии на контакторы KM1, КМ2 - и станок полностью остановится. После устранения неисправности сбросьте кнопку, после этого запустите станок повторно.
Защитные и предохранительные устройства настольно-сверлильного станка 2М125
Защитные ограждения
Станок снабжен перемещаемым ограждением, закрывающим конец шпинделя, патрон и режущий инструмент на время вращения главного привода. При отводе ограждения от шпинделя блокируется питание цепей управления станком в отключенном состоянии. В механизме установлен блокирующий конечник защитного ограждения зоны резания и запрещающий вращение шпинделя на время отвода ограждения из зоны резания. Повторный "пуск" шпинделя возможен только при нажатии на пусковые кнопки при закрытом положении ограждения.
Степень защиты электрооборудования
Электрическая панель вмонтирована в нише колонны. Дверца ниши снабжена специальным замком и ключом. Корпус пульта управления имеет степень защиты IP44, ниша колонны имеет исполнение по степени защищенности IP43 по EN 60529.
Обслуживание электрооборудования
Перед началом обслуживания электрооборудования станка отключите его от питания. Электрооборудование должно содержаться в чистоте. Колебания напряжения в сети не должны выходить за пределы ±10% от номинала.
Стандартная комплектация 2М125
- Станок в сборе;
- Автоматический реверс для нарезания резьбы;
- Патрон сверлильный В16;
- Дорн МК3/B16;
- Освещение рабочей зоны;
- Руководство по эксплуатации;
- Технический паспорт;
- Декларация соответствия требованиям ТР ТС
Дополнительные опции 2М125
- Комплект сверл
- Тиски станочные
ПромСтройМаш является непосредственным производителем 2М125 Мы производим и продаём Настольно-сверлильный резьбонарезной станок 2М125 во все регионы РФ и страны ближнего зарубежья, такие как Беларусь, Казахстан. 2М125 нашего производства хорошо зарекомендовали себя в Москве, Ярославле, Нижнем Новгороде, Екатеринбурге, Новосибирске и других городах России. Купить 2М125 вы можете непосредственно у нас или у наших дилеров. Диаметр 25мм, Вылет шпинделя 245мм

